• 专利申请
    2021-11-25
  • 公布公告
    2022-05-24
  • 授权日期
    2022-05-24
  • 终止
    2032-05-21
一种化妆棉裁断机的棉片分垛装置
一种化妆棉裁断机的棉片分垛装置
* 专利信息仅供参考,不具有法律效力。 有效专利
CN202122980519.9 2021-11-25 B26D7/32 {{ classMap["B26D7/32"] }}
兴化市华良敷料卫生用品有限公司 查看申请人名下所有专利
江苏省泰州市兴化市永丰镇经济开发区
专利分类项目
专利注册信息
初审公告期号 2021-11-25 初审公告日期 2022-05-24
注册公告期号 2022-05-24 注册公告日期 2022-05-24
专用权期限 2022-05-24 - 2032-05-21 专利类型 实用新型
代理组织机构 --
专利介绍
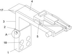
本实用新型公开了一种化妆棉裁断机的棉片分垛装置,包括壳体,所述壳体的上端设置有保护壳,所述保护壳的内部设置有驱动电机,所述驱动电机的一端设置有转轴,所述转轴的外部设置有第一带轮,所述第一带轮的外部设置有皮带,所述壳体的内部设置有转杆,所述转杆的外部设置有滑块,所述转杆的外部设置有第二带轮,所述滑块的下端设置有气缸,所述气缸的一端设置有吸盘。本实用新型中,通过设置收集槽和推板,将裁剪好的化妆棉通过吸盘依次装到收集槽中,在传送带的两侧依次设置多个收集槽,可以增加对化妆棉的收集速度,提高工作效率。
法律进度
  • 2022-05-24 授权 ...

同类专利

咨询该专利

您还可以
推荐专利
{{ v.name }}
取 消 确 定