• 专利申请
    2021-11-25
  • 公布公告
    2022-05-24
  • 授权日期
    2022-05-24
  • 终止
    2032-05-21
一种化妆棉的自动化生产设备
一种化妆棉的自动化生产设备
* 专利信息仅供参考,不具有法律效力。 有效专利
CN202122980517.X 2021-11-25 D04H1/44 {{ classMap["D04H1/44"] }}
兴化市华良敷料卫生用品有限公司 查看申请人名下所有专利
江苏省泰州市兴化市永丰镇经济开发区
专利分类项目
专利注册信息
初审公告期号 2021-11-25 初审公告日期 2022-05-24
注册公告期号 2022-05-24 注册公告日期 2022-05-24
专用权期限 2022-05-24 - 2032-05-21 专利类型 实用新型
代理组织机构 --
专利介绍
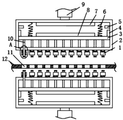
本实用新型公开了一种化妆棉的自动化生产设备,包括箱体,所述箱体的内部两端均转动连接有压轴,所述压轴的一端固定连接有连接轴,所述连接轴的外部套接有齿条,所述齿条的内部中处啮合有锥齿轮,所述锥齿轮的一侧啮合有第一齿轮,所述锥齿轮的另一侧啮合有第二齿轮;所述箱体的顶端一侧插接有吸管,所述吸管的一端贯穿箱体的内部,所述吸管的一端固定连接有波纹管,所述波纹管的另一端固定连接有回收口。本实用新型中,设置有驱动电机和压轴,驱动电机进行转动,随后通过锥齿轮带动第一齿轮和第二齿轮进行转动,随后通过齿条带动连接轴使两端压轴转动,将化妆棉通过两端压轴中部进行压合,使化妆棉在储存时不易松散。
法律进度
  • 2022-05-24 授权 ...

同类专利

咨询该专利

您还可以
推荐专利
{{ v.name }}
取 消 确 定