• 专利申请
    2021-11-27
  • 公布公告
    2022-04-08
  • 授权日期
    2022-04-08
  • 终止
    2032-04-05
一种自行车辅助工具收集器
一种自行车辅助工具收集器
* 专利信息仅供参考,不具有法律效力。 有效专利
CN202122964744.3 2021-11-27 B25H3/00 {{ classMap["B25H3/00"] }}
绍兴捷成车辆配件有限公司 查看申请人名下所有专利
浙江省绍兴市上虞区章镇镇任叶村
专利分类项目
专利注册信息
初审公告期号 2021-11-27 初审公告日期 2022-04-08
注册公告期号 2022-04-08 注册公告日期 2022-04-08
专用权期限 2022-04-08 - 2032-04-05 专利类型 实用新型
代理组织机构 深圳市创富知识产权代理有限公司 查看该机构代理的所有专利
专利介绍
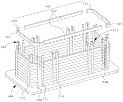
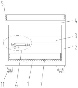
本实用新型公开了一种自行车辅助工具收集器,包括壳体,所述壳体内安装有收纳装置,所述收纳装置包括收纳柱、芯轴、手轮,所述壳体的外壁开设有存取槽,所述收纳柱通过所述芯轴固定于所述壳体内,所述收纳柱的外圆周壁上均布有收纳槽,所述芯轴依次贯穿壳体、收纳柱,所述手轮可拆卸式安装于所述芯轴的一端,所述芯轴的另一端安装有旋转固定装置,所述芯轴远离手轮的一端开设有放置槽,所述放置槽的开口端螺接有盖板,所述盖板的面向放置槽的一端固定有手柄,采用隐藏式的设计将手柄存放于放置槽中,用户需要使用手柄时仅需旋动盖板即可取出手柄,比现有产品,该装置体积更小,更方便携带。
法律进度
  • 2022-04-08 授权 ...

同类专利

咨询该专利

您还可以
推荐专利
{{ v.name }}
取 消 确 定