• 专利申请
    2021-11-26
  • 公布公告
    2022-06-21
  • 授权日期
    2022-06-21
  • 终止
    2032-06-18
一种铝粉膏生产的环保型打散机
一种铝粉膏生产的环保型打散机
* 专利信息仅供参考,不具有法律效力。 有效专利
CN202122928675.0 2021-11-26 B02C13/14 {{ classMap["B02C13/14"] }}
上海镀募网络科技有限公司 查看申请人名下所有专利
上海市宝山区真陈路1000号1幢418-A2132室
专利分类项目
专利注册信息
初审公告期号 2021-11-26 初审公告日期 2022-06-21
注册公告期号 2022-06-21 注册公告日期 2022-06-21
专用权期限 2022-06-21 - 2032-06-18 专利类型 实用新型
代理组织机构 上海德恒万邦专利代理有限公司 查看该机构代理的所有专利
专利介绍
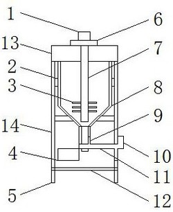
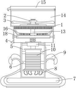
本实用新型公开了一种铝粉膏生产的环保型打散机,包括加工罐,所述加工罐的底部固定连接有防护箱,所述防护箱的顶部通过转轴转动连接有活动盖,所述活动盖顶部固定连接有驱动电机,所述驱动电机穿过活动盖的输出端固定连接有固定杆,所述固定杆的表面固定连接有转动架,所述转动架的内部开设有打散槽,所述防护箱的侧面固定连接有侧面箱,所述侧面箱的顶部固定连接有软管,所述软管的一端固定连接有固定泵,所述固定泵固定连接在活动盖上。本实用新型通过驱动电机、转动盘、转动杆和转动架之间的配合,方便对其内部进行转动,从而使其内部的打散处理,从而避免内部打散不够均匀,影响工作人员的正常使用情况。
法律进度
  • 2022-06-21 授权 ...

同类专利

咨询该专利

您还可以
推荐专利
{{ v.name }}
取 消 确 定