• 专利申请
    2021-11-24
  • 公布公告
    2022-07-26
  • 授权日期
    2022-07-26
  • 终止
    2032-07-23
一种用于取件开模的吸盘治具
一种用于取件开模的吸盘治具
* 专利信息仅供参考,不具有法律效力。 有效专利
CN202122903223.7 2021-11-24 B29C45/42 {{ classMap["B29C45/42"] }}
苏州巨义乐电子科技有限公司 查看申请人名下所有专利
江苏省苏州市吴江区松陵镇八坼街道康欣路332号
专利分类项目
专利注册信息
初审公告期号 2021-11-24 初审公告日期 2022-07-26
注册公告期号 2022-07-26 注册公告日期 2022-07-26
专用权期限 2022-07-26 - 2032-07-23 专利类型 实用新型
代理组织机构 苏州言思嘉信专利代理事务所 查看该机构代理的所有专利
专利介绍
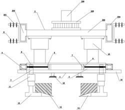
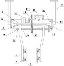
本实用新型公开了一种用于取件开模的吸盘治具,包括治具固定板、滑台气缸与笔型气缸,所述治具固定板与滑台气缸为固定连接,所述治具固定板与笔型气缸为固定连接,所述治具固定板的顶端固定连接有料头吸杆,所述治具固定板的顶端固定连接有第一吸杆。本实用新型通过设置滑台气缸与笔型气缸,在使用时,治具固定板整体下行吸取铁件产品,吸取铁件后,滑台气缸运作,带动回退器回退,讲产品缩到铁件的后面,之后治具固定板切换一个位置,模具定位器对准模具定位孔前进进行定位,铁件定位孔对准模具定位柱,笔型气缸动作,通过铁件顶针将铁件顶到位,从而对产品进行精准定位,有效增强吸附的稳定性,且结构简单,易于维护。
法律进度
  • 2022-07-26 授权 ...

同类专利

咨询该专利

您还可以
推荐专利
{{ v.name }}
取 消 确 定