• 专利申请
    2021-11-10
  • 公布公告
    2022-04-05
  • 授权日期
    2022-04-05
  • 终止
    2032-04-02
一种微滤陶瓷膜分离静电纺纳米纤维的提纯设备
一种微滤陶瓷膜分离静电纺纳米纤维的提纯设备
* 专利信息仅供参考,不具有法律效力。 有效专利
CN202122736431.2 2021-11-10 D01D1/10 {{ classMap["D01D1/10"] }}
合肥创想能源环境科技有限公司 查看申请人名下所有专利
安徽省合肥市高新区天通路14号软件园4-506室
专利分类项目
专利注册信息
初审公告期号 2021-11-10 初审公告日期 2022-04-05
注册公告期号 2022-04-05 注册公告日期 2022-04-05
专用权期限 2022-04-05 - 2032-04-02 专利类型 实用新型
代理组织机构 合肥方舟知识产权代理事务所 查看该机构代理的所有专利
专利介绍
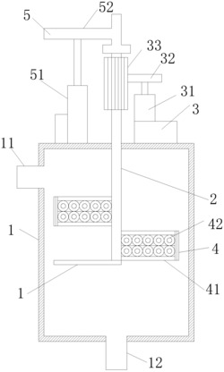
本实用新型公开了一种微滤陶瓷膜分离静电纺纳米纤维的提纯设备,所述的微滤陶瓷膜板固设于过滤盒内部,所述的连接罩固设于过滤盒前端,所述的抽吸泵固设于连接罩前端,所述的盖板固设于过滤盒顶部,所述的固定罩固设于盖板顶部中端,所述的电动推杆固设于固定罩内部中端,所述的连接架固设于电动推杆顶部,所述的挤压板固设于连接架左右两侧,所述的导流孔固设于挤压板内部中端,首先电动推杆能带动连接架联动挤压板作上下滑动,便于挤压静电纺纳米纤维,能加速通过两侧的微滤陶瓷膜板,提高提纯速度,同时抽吸泵开启后产生负压,利于过滤盒内部的微滤陶瓷膜板两侧过滤后的静电纺纳米纤维由连接罩向外流动,进一步增强静电纺纳米纤维的流动性。
法律进度
  • 2022-04-05 授权 ...

同类专利

咨询该专利

您还可以
推荐专利
{{ v.name }}
取 消 确 定