• 专利申请
    2021-10-13
  • 公布公告
    2022-03-04
  • 授权日期
    2022-03-04
  • 终止
    2032-03-01
一种便于倒取液体的塑胶桶
一种便于倒取液体的塑胶桶
* 专利信息仅供参考,不具有法律效力。 有效专利
CN202122460736.5 2021-10-13 B62B3/04 {{ classMap["B62B3/04"] }}
佛山市新鸿盛昌塑料制品有限公司 查看申请人名下所有专利
广东省佛山市南海区西樵镇上金瓯驳舟岗开发区36号
专利分类项目
专利注册信息
初审公告期号 2021-10-13 初审公告日期 2022-03-04
注册公告期号 2022-03-04 注册公告日期 2022-03-04
专用权期限 2022-03-04 - 2032-03-01 专利类型 实用新型
代理组织机构 佛山市明高知识产权代理事务所 查看该机构代理的所有专利
专利介绍
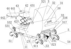
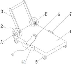
本实用新型公开了塑料桶技术领域的一种便于倒取液体的塑胶桶,包括底座、第一安装块、支撑板、电动伸缩杆和桶体,所述第一安装块固定连接在所述支撑板的右侧壁中间,所述支撑板固定连接在所述底座的顶部左侧,所述电动伸缩杆固定连接在所述底座的顶部右侧,所述桶体位于所述底座的上侧,所述底座的底部四角固定连接有万向轮,该便于倒取液体的塑胶桶,结构设计合理,实现了设备自动倒取的操作,有利于操作人员单人操作,提高了设备的实用性,避免了操作人员直接接触桶体,保证了操作人员的人身安全,实现了设备便于移动的效果,避免了使用专业的搬运工具,以及多人的劳动力的浪费,有效的控制了设备后期使用的成本。
法律进度
  • 2022-03-04 授权 ...

同类专利

咨询该专利

您还可以
推荐专利
{{ v.name }}
取 消 确 定