• 专利申请
    2021-09-16
  • 公布公告
    2022-01-25
  • 授权日期
    2022-01-25
  • 终止
    2032-01-23
一种用于草莓种植的施肥装置
一种用于草莓种植的施肥装置
* 专利信息仅供参考,不具有法律效力。 有效专利
CN202122247421.2 2021-09-16 A01C23/04 {{ classMap["A01C23/04"] }}
阜阳市鸿福农业科技股份有限公司 查看申请人名下所有专利
安徽省阜阳市颍泉区闻集镇白洋湖村105国道北侧
专利分类项目
专利注册信息
初审公告期号 2021-09-16 初审公告日期 2022-01-25
注册公告期号 2022-01-25 注册公告日期 2022-01-25
专用权期限 2022-01-25 - 2032-01-23 专利类型 实用新型
代理组织机构 深圳市宾亚知识产权代理有限公司 查看该机构代理的所有专利
专利介绍
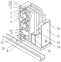
本实用新型公开了一种用于草莓种植的施肥装置,包括安装块和移动组件;安装块:前侧面上安装有控制开关组,所述安装块上侧面上开设有均匀分布的种植槽,所述安装块的左右两侧固定有两个相对应的储存箱,所述安装块的下侧面上安装有第一输液组件,左侧的储存箱的内部安装有第二输液组件;移动组件:包含固定框、滑框、第一电机、齿柱和齿板,所述固定框固定在安装块的后侧面上,所述固定框的侧面上滑动连接有滑框,所述滑框的后侧面上安装有第一电机,所述第一电机的输出轴固定在齿柱的后端面上,所述齿柱转动连接在滑框的内部,所述固定框内部的下侧面上固定有齿板,能够非常方便对草莓施加基肥和叶肥。
法律进度
  • 2022-01-25 授权 ...

同类专利

咨询该专利

您还可以
推荐专利
{{ v.name }}
取 消 确 定