• 专利申请
    2021-08-26
  • 公布公告
    2022-07-05
  • 授权日期
    2022-07-05
  • 终止
    2032-07-02
一种HDPE钢带增强螺旋波纹管的输送装置
一种HDPE钢带增强螺旋波纹管的输送装置
* 专利信息仅供参考,不具有法律效力。 有效专利
CN202122051685.0 2021-08-26 B65D61/00 {{ classMap["B65D61/00"] }}
贵州世纪金晨管业有限公司 查看申请人名下所有专利
贵州省黔南布依族苗族自治州长顺县白云山镇鼠场工业园区
专利分类项目
专利注册信息
初审公告期号 2021-08-26 初审公告日期 2022-07-05
注册公告期号 2022-07-05 注册公告日期 2022-07-05
专用权期限 2022-07-05 - 2032-07-02 专利类型 实用新型
代理组织机构 深圳国联专利代理事务所 查看该机构代理的所有专利
专利介绍
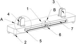
本实用新型公开了一种HDPE钢带增强螺旋波纹管的输送装置,包括两个上端面均设有运输台的底座,两个底座的底部均安装有万向轮,底座的上端面固定有支撑运输台的支撑板,两个运输台之间安装有导杆以及丝杠,且运输台的上端面两侧均通过两个支撑耳支撑有支撑杆,支撑杆上套有多个防护套,两个运输台远离彼此的一端对称设有固定机构,固定机构包括铰接安装于运输台上的固定筒、固定筒上活动插接的固定块以及固定块端部两侧弹性安装的两个抵接杆。该HDPE钢带增强螺旋波纹管的输送装置,能够根据波纹管长度来调节两个运输台之间的间距,提高了适用范围,且能对波纹管端口内壁进行抵接固定,提高了波纹管运输时的稳定性。
法律进度
  • 2022-07-05 授权 ...

同类专利

咨询该专利

您还可以
推荐专利
{{ v.name }}
取 消 确 定