• 专利申请
    2021-06-09
  • 公布公告
    2021-12-03
  • 授权日期
    2021-12-03
  • 终止
    2024-06-25
一种杠杆式压力钳
一种杠杆式压力钳
* 专利信息仅供参考,不具有法律效力。 失效专利
CN202121286033.9 2021-06-09 B25B27/02 {{ classMap["B25B27/02"] }}
浙江工业大学 查看申请人名下所有专利
浙江省杭州市拱墅区朝晖六区潮王路18号
专利分类项目
专利注册信息
初审公告期号 2021-06-09 初审公告日期 2021-12-03
注册公告期号 2021-12-03 注册公告日期 2021-12-03
专用权期限 2021-12-03 - 2024-06-25 专利类型 实用新型
代理组织机构 杭州浙科专利事务所 查看该机构代理的所有专利
专利介绍
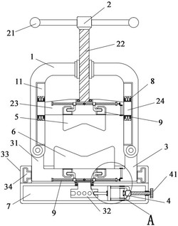
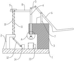
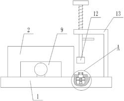
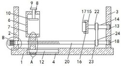
本实用新型公开了一种杠杆式压力钳,该压力钳包括固定架、转臂结构、转动结构、限位结构和底座,固定架为倒U型结构,下端与转动结构连接,转臂结构下端穿过固定架,下端两侧设置于固定架的滑槽内构成旋转滑动结构,转臂结构的下端连接有上压块,转动结构包括转动台、孔槽转块、转动槽环和辅助块,转动槽环置于底座上,转动台的两端固定连接有辅助块,辅助块契合卡扣于转动槽环的槽内,且辅助块能在转动槽环中转动,转动台的下端固定连接孔槽转块,上端连接有下压块,上压块和下压块之间用于固定产品,孔槽转块的四周侧面开设有孔槽,用于与限位结构连接,同时还具有清洁结构和可拆卸的安装结构。本实用新型可旋转,可拆卸,安装方便,易操作。(ESM)同样的发明创造已同日申请发明专利
法律进度
  • 2024-06-25 未缴年费专利权终止 IPC(主分类): B25B 27/02 专利号: ZL 202121286033.9 申请日: 2021.0 ...

  • 2021-12-03 授权 ...

同类专利

咨询该专利

您还可以
推荐专利
{{ v.name }}
取 消 确 定