• 专利申请
    2021-04-20
  • 公布公告
    2021-12-21
  • 授权日期
    2021-12-21
  • 终止
    2031-12-19
一种可调节的吸附平台
一种可调节的吸附平台
* 专利信息仅供参考,不具有法律效力。 有效专利
CN202120817637.5 2021-04-20 B25B11/00 {{ classMap["B25B11/00"] }}
南京得帮机电有限公司 查看申请人名下所有专利
江苏省南京市江宁区汤山街道汤山工业园纬三路6号
专利分类项目
专利注册信息
初审公告期号 2021-04-20 初审公告日期 2021-12-21
注册公告期号 2021-12-21 注册公告日期 2021-12-21
专用权期限 2021-12-21 - 2031-12-19 专利类型 实用新型
代理组织机构 广东有知猫知识产权代理有限公司 查看该机构代理的所有专利
专利介绍
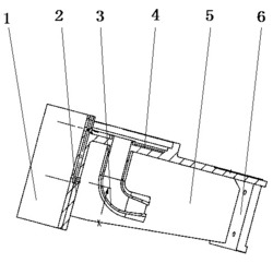
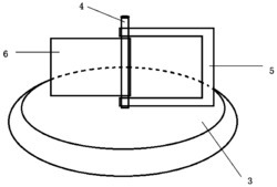
本实用新型公开了一种可调节的吸附平台,包括底板和顶板,顶板位于底板的顶部,顶板底端其中的两个边角处分别通过两个支撑机构与底板顶端其中的两个边角处固定连接,支撑机构包括第一限位框、支撑杆和第一固定轴,顶板底端另外的两个边角处均通过调节机构与底板另外的两个边角处固定连接,调节机构包括第二限位框、活动杆、第二固定轴、限位筒、连接板、滑块、通槽和电动伸缩杆。本实用新型通过设有顶板,在顶板的底端开设有凹槽,在凹槽内腔的底端并排设有两个分隔板,通过两个分隔板可以将凹槽分割成多个吸附空间,当被吸附的材料板过小时,通过PLC控制器关闭其中一至两个第二导管的电磁阀,使得抽风机无法通过关闭的第二导管持续对外界抽风。
法律进度
  • 2021-12-21 授权 ...

同类专利

咨询该专利

您还可以
推荐专利
{{ v.name }}
取 消 确 定