• 专利申请
    2021-04-07
  • 公布公告
    2021-11-19
  • 授权日期
    2021-11-19
  • 终止
    2031-11-17
一种天丝皱竹节面料生产用卷布装置
一种天丝皱竹节面料生产用卷布装置
* 专利信息仅供参考,不具有法律效力。 有效专利
CN202120699768.8 2021-04-07 B65H75/28 {{ classMap["B65H75/28"] }}
嘉兴市民华纺织股份有限公司 查看申请人名下所有专利
浙江省嘉兴市秀洲区王江泾镇田乐村
专利分类项目
专利注册信息
初审公告期号 2021-04-07 初审公告日期 2021-11-19
注册公告期号 2021-11-19 注册公告日期 2021-11-19
专用权期限 2021-11-19 - 2031-11-17 专利类型 实用新型
代理组织机构 嘉兴启帆专利代理事务所 查看该机构代理的所有专利
专利介绍
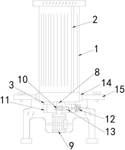
本实用新型公开了一种天丝皱竹节面料生产用卷布装置,涉及到面料生产装置技术领域,包括安装板,安装板的上表面一端固定连接有固定板,固定板的一侧通过轴承活动连接有导布辊,安装板的上表面中部固定连接有支撑板,安装板的上表面另一端固定连接有定位板,定位板上通过轴承活动连接有活动杆,安装板的下表面一端固定连接有驱动电机,活动杆的一端和驱动电机的输出轴外侧均套接有皮带轮,皮带轮的外侧设置有皮带。本实用新型通过在卷布辊上开设卡槽,卡槽的一侧开设的弧形槽内设置有弧形块,对布料进行收卷时,将布料的一端插入卡槽内,弧形块在弹簧的作用下将布料的一端夹紧,避免了卷布过程中布料与卷布辊之间发生滑动。
法律进度
  • 2021-11-19 授权 ...

同类专利

咨询该专利

您还可以
推荐专利
{{ v.name }}
取 消 确 定