• 专利申请
    2021-04-06
  • 公布公告
    2021-11-30
  • 授权日期
    2021-11-30
  • 终止
    2031-11-28
一种定模结构
一种定模结构
* 专利信息仅供参考,不具有法律效力。 有效专利
CN202120696140.2 2021-04-06 B22D17/22 {{ classMap["B22D17/22"] }}
赫科工业技术(昆山)有限公司 查看申请人名下所有专利
江苏省苏州市昆山市千灯镇季广北路158号
专利分类项目
专利注册信息
初审公告期号 2021-04-06 初审公告日期 2021-11-30
注册公告期号 2021-11-30 注册公告日期 2021-11-30
专用权期限 2021-11-30 - 2031-11-28 专利类型 实用新型
代理组织机构 --
专利介绍
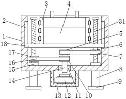
本实用新型公开了一种定模结构,包括定模架及定模板,所述定模板的底面上设有模腔,其特征在于:还设有一连接块及浇口套,所述连接块内部设有一料腔,所述浇口套的底部与所述料腔的顶部右侧相连通,所述连接块的底部左侧设有两组送料管,所述送料管与所述模腔及料腔相连通;所述连接块的左侧底部设有一中空结构的定位块,所述定位块的中部设有一空腔,所述定位块的底面与所述模腔的顶部齐平设置,所述送料管的中部插设于所述定位块的空腔内,所述送料管的底部穿过所述空腔与所述模腔相连通;所述定位块上设有进液孔及出液孔,所述进液孔及出液孔与所述空腔相连通。本实用新型提高了压铸效率及质量,降低了维修率。
法律进度
  • 2021-11-30 授权 ...

同类专利

咨询该专利

您还可以
推荐专利
{{ v.name }}
取 消 确 定