• 专利申请
    2021-03-08
  • 公布公告
    2021-11-16
  • 授权日期
    2021-11-16
  • 终止
    2031-11-14
一种绷网机的涂胶装置
一种绷网机的涂胶装置
* 专利信息仅供参考,不具有法律效力。 有效专利
CN202120493916.0 2021-03-08 B05C1/08 {{ classMap["B05C1/08"] }}
青岛天承泰制版有限公司 查看申请人名下所有专利
山东省青岛市即墨市通济办事处郭庄五村
专利分类项目
专利注册信息
初审公告期号 2021-03-08 初审公告日期 2021-11-16
注册公告期号 2021-11-16 注册公告日期 2021-11-16
专用权期限 2021-11-16 - 2031-11-14 专利类型 实用新型
代理组织机构 --
专利介绍
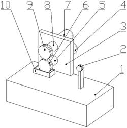
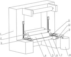
本实用新型公开了一种绷网机的涂胶装置,涉及绷网机技术领域,包括工作架和固定于其上表面的工作台,工作台上转动设置有旋转板,旋转板上表面固定有推进气缸,推进气缸活塞杆的端部固定有推进块的一端,推进块的另一端弹性设置有涂胶板,涂胶板朝向工作台的表面转动设置有涂胶辊,涂胶板朝向工作台的表面开设有涂胶口,涂胶口通过涂胶管与固定在旋转板上表面的涂胶箱相连通,涂胶管还连通有用于将涂胶箱内储存的胶水打出涂胶口的气泵,工作台上表面还设置有用于限制涂胶板位移轨迹并夹持网框的限位组件。本实用新型的特点是可以代替人工自动完成网框的涂胶工作。
法律进度
  • 2021-11-16 授权 ...

同类专利

咨询该专利

您还可以
推荐专利
{{ v.name }}
取 消 确 定