• 专利申请
    2021-02-01
  • 公布公告
    2021-09-24
  • 授权日期
    2021-09-24
  • 终止
    2031-09-22
一种洗车用清洁手套
一种洗车用清洁手套
* 专利信息仅供参考,不具有法律效力。 有效专利
CN202120281209.5 2021-02-01 A41D19/015 {{ classMap["A41D19/015"] }}
惠州新科三佳科技有限公司 查看申请人名下所有专利
广东省惠州市博罗县罗阳镇义和新角管理区下围村石马排(宏博工业城一栋二层)
专利分类项目
专利注册信息
初审公告期号 2021-02-01 初审公告日期 2021-09-24
注册公告期号 2021-09-24 注册公告日期 2021-09-24
专用权期限 2021-09-24 - 2031-09-22 专利类型 实用新型
代理组织机构 成都明涛智创专利代理有限公司 查看该机构代理的所有专利
专利介绍
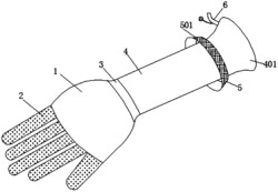
本实用新型公开了一种洗车用清洁手套,包括手套本体、折叠腕带、透气装置以及固定装置,所述手套本体的手背部安装有透气装置,所述透气装置包括透气块,所述透气块靠近手套本体的一侧开设有安装槽,且所述透气块内围绕透气块的轴心呈环形阵列开设有四个透气孔,所述安装槽内安装有适配透气孔的挡板,所述手套本体的腕部安装有折叠腕带,所述折叠腕带的一侧安装有固定装置,所述固定装置包括连接盘,所述连接盘远离折叠腕带的一侧可旋转连接有收线轴,所述收线轴远离连接盘的一端固定连接有拧盖,该洗车用清洁手套,代替了常规皮筋进行固定,避免手出现勒痕,同时提高了透气性,且在冬天温度较低时,可以避免热量散失。
法律进度
  • 2021-09-24 授权 ...

同类专利

咨询该专利

您还可以
推荐专利
{{ v.name }}
取 消 确 定