• 专利申请
    2021-01-25
  • 公布公告
    2021-11-30
  • 授权日期
    2021-11-30
  • 终止
    2031-11-28
一种瓶盖三合一组装机
一种瓶盖三合一组装机
* 专利信息仅供参考,不具有法律效力。 有效专利
CN202120209308.2 2021-01-25 B23P21/00 {{ classMap["B23P21/00"] }}
广东极客未来智能装备有限公司 查看申请人名下所有专利
广东省东莞市桥头镇大洲社区大东路489号
专利分类项目
专利注册信息
初审公告期号 2021-01-25 初审公告日期 2021-11-30
注册公告期号 2021-11-30 注册公告日期 2021-11-30
专用权期限 2021-11-30 - 2031-11-28 专利类型 实用新型
代理组织机构 东莞市永邦知识产权代理事务所 查看该机构代理的所有专利
专利介绍
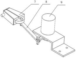
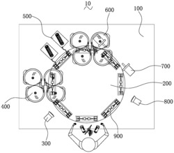
一种瓶盖三合一组装机,包括:底板,底板顶部一端设有方壳送料机构,底板顶部靠近方壳送料机构一端设有X轴马达,底板顶部靠近X轴马达一端设有方壳放料位置,底板一端设有内牙取料机构,本实用新型具有以下优点:通过方壳送料机构将方壳放置到方壳产品位置,输送方壳到达一工位内牙组装位上,通过内牙取料机构取出内牙进入到一工位内牙组装位,组装内牙和方壳,通过二工位扁盖取料机构取出扁盖进入到二工位扁盖组装位,打开工位站马达传送机构传送内牙和方壳,并与扁盖进行安装,解决了组装到位的问题,保质保量,对人作业强度相对较低,并可操作多台,托盘方壳送料马达传送机和工位站马达传送机可单独自成一体机,更加灵活方便。
法律进度
  • 2021-11-30 授权 ...

同类专利

咨询该专利

您还可以
推荐专利
{{ v.name }}
取 消 确 定