• 专利申请
    2021-01-08
  • 公布公告
    2021-08-17
  • 授权日期
    2021-08-17
  • 终止
    2031-08-15
一种脚踏转叶健身器
一种脚踏转叶健身器
* 专利信息仅供参考,不具有法律效力。 有效专利
CN202120047736.X 2021-01-08 A63B22/04 {{ classMap["A63B22/04"] }}
佛山市神风航空科技有限公司 查看申请人名下所有专利
广东省佛山市高明区荷城街道富湾江湾路78号402室
专利分类项目
专利注册信息
初审公告期号 2021-01-08 初审公告日期 2021-08-17
注册公告期号 2021-08-17 注册公告日期 2021-08-17
专用权期限 2021-08-17 - 2031-08-15 专利类型 实用新型
代理组织机构 --
专利介绍
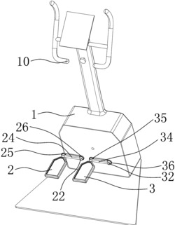
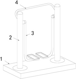
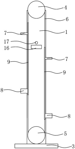
一种脚踏转叶健身器,涉及体育健身器材技术领域,包括:下转叶器、导杆、摇杆、主连杆、左推拉杆、右推拉杆和支架;下转叶器包括下滑块、下轴承、以及均匀分布在下轴承周围的多个下叶片,下转叶器能沿导杆灵活上下运动;操作者脚踏脚踏板来回蹬踩,牵引摇杆摇动从而带动下转叶器上下往复运动,使下叶片绕导杆旋转。本发明结构新颖,功能多样。是一种将往复运动转换成圆周转动的器械,可供体育娱乐、健身、发电等,也具有体能测试的功能,娱乐性强,体验感强,与传统的健身器材相比,更能够吸引大众参与健身锻炼,对提高全民身体素质将产生深远的影响。(ESM)同样的发明创造已同日申请发明专利
法律进度
  • 2021-08-17 授权 ...

同类专利

咨询该专利

您还可以
推荐专利
{{ v.name }}
取 消 确 定