• 专利申请
    2021-01-06
  • 公布公告
    2021-12-14
  • 授权日期
    2021-12-14
  • 终止
    2031-12-12
一种风动电动工具机壳用的成型设备
一种风动电动工具机壳用的成型设备
* 专利信息仅供参考,不具有法律效力。 有效专利
CN202120019204.5 2021-01-06 B29C33/00 {{ classMap["B29C33/00"] }}
滁州市东升汽车附件有限公司 查看申请人名下所有专利
安徽省滁州市南京北路342号
专利分类项目
专利注册信息
初审公告期号 2021-01-06 初审公告日期 2021-12-14
注册公告期号 2021-12-14 注册公告日期 2021-12-14
专用权期限 2021-12-14 - 2031-12-12 专利类型 实用新型
代理组织机构 --
专利介绍
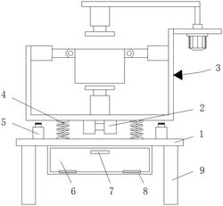
本实用新型公开了一种风动电动工具机壳用的成型设备,涉及机壳成型技术领域,针对现有的机壳成型设备在使用过程中,无法快速的对其进行成型处理,费时费力,操作复杂,且成型时间较长,降低了生产效率的问题,现提出如下方案,包括下模具,所述下模具的两侧顶部均固定连接有支撑板,两个所述支撑板的顶部固定连接有盖板,所述盖板的顶部固定连接有双轴电机。本实用新型设计新颖,操作简单,通过第一扇叶和上模具等的设置,上模具的向下移动到与下模具结合,可以对其进行机壳成型处理,同时在机壳成型冷却过程中,第一扇叶和第二扇叶可以对上模具进行快速降温处理,保证了机壳成型的快速,节省了时间,提高了生产效率。
法律进度
  • 2021-12-14 授权 ...

同类专利

咨询该专利

您还可以
推荐专利
{{ v.name }}
取 消 确 定