• 专利申请
    2021-12-29
  • 公布公告
    2023-04-14
  • 授权日期
    2023-04-14
  • 终止
    2033-04-11
一种设置在公交站的口罩贩卖装置
一种设置在公交站的口罩贩卖装置
* 专利信息仅供参考,不具有法律效力。 有效专利
CN202111642425.9 2021-12-29 G07F11/00 {{ classMap["G07F11/00"] }}
黄华 查看申请人名下所有专利
江西省吉安市峡江县水边镇馆头村馆头自然村63号
专利分类项目
专利注册信息
初审公告期号 2021-12-29 初审公告日期 2023-04-14
注册公告期号 2023-04-14 注册公告日期 2023-04-14
专用权期限 2023-04-14 - 2033-04-11 专利类型 发明授权
代理组织机构 合肥市科融知识产权代理事务所 查看该机构代理的所有专利
专利介绍
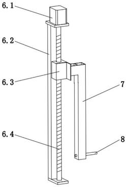
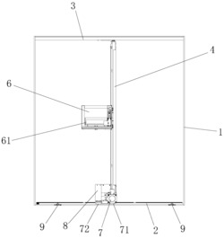
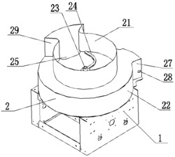
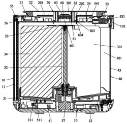
本发明涉及公交站技术领域,公开了一种设置在公交站的口罩贩卖装置,包括底座、贩卖箱、贩卖室、加热室、存放柜和盖板;所述贩卖箱通过支柱支撑固定在底座的上方,贩卖箱位于底座的正上方,支柱为两个,且两个支柱支撑在贩卖箱的下方两侧,所述贩卖室设置在贩卖箱的内部左侧,且贩卖室右侧的贩卖箱内部竖向固定有隔板,所述贩卖室的左侧内部竖向固定有竖板。本发明通过设置贩卖箱,其内部设有贩卖室和加热室,在使用时可以通过贩卖室向外售出独立包装的口罩,便于给未戴口罩的乘客购买使其能够顺利坐公交,设置带有搁槽的加热室,可以将眼镜置于搁槽内部被加热,能够避免冷凝水积累在镜片表面,进而避免佩戴时影响乘客的视线。
法律进度
  • 2023-04-14 授权 ...

  • 2022-04-12 实质审查的生效 IPC(主分类): G07F 11/00 专利申请号: 202111642425.9 申请日: 2021.12 ...

  • 2022-03-25 公开 ...

同类专利

咨询该专利

您还可以
推荐专利
{{ v.name }}
取 消 确 定