• 专利申请
    2021-10-25
  • 公布公告
    2023-03-24
  • 授权日期
    2023-03-24
  • 终止
    2033-03-21
一种海洋锚链清洁机器人
一种海洋锚链清洁机器人
* 专利信息仅供参考,不具有法律效力。 有效专利
CN202111243732.X 2021-10-25 B63B59/08 {{ classMap["B63B59/08"] }}
广东海洋大学 查看申请人名下所有专利
广东省湛江市麻章区海大路1号
专利分类项目
专利注册信息
初审公告期号 2021-10-25 初审公告日期 2023-03-24
注册公告期号 2023-03-24 注册公告日期 2023-03-24
专用权期限 2023-03-24 - 2033-03-21 专利类型 发明授权
代理组织机构 广州粤高专利商标代理有限公司 查看该机构代理的所有专利
专利介绍
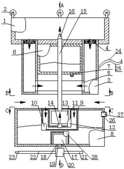
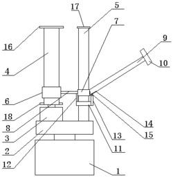
本发明涉及系泊链技术领域,公开一种海洋锚链清洁机器人,包括高压喷水清洁机构和冲洗装置,高压喷水清洁机构包括推进装置、夹持机构和驱动机构,夹持机构包括安装座和两个机械臂,两个机械臂分别连接在安装座的两侧,驱动机构设于安装座上,驱动机构分别与两个机械臂连接以带动两个机械臂相互靠近或远离,推进装置和冲洗装置连接在安装座上。入水后,驱动机构带动两个机械臂相互靠近,高压喷水清洁机构套装在锚链上,推进装置使高压喷水清洁机构可自主沿锚链移动,让其上的冲洗装置可对锚链的每一个链环进行冲洗清洁,本发明无需额外的ROV机器人,可省去ROV机器人牵引辅助的时间,提高效率,且能避免被海流冲走,可适应复杂的水下环境。
法律进度
  • 2023-03-24 授权 ...

  • 2022-01-21 实质审查的生效 IPC(主分类): B63B 59/08 专利申请号: 202111243732.X 申请日: 2021.10 ...

  • 2022-01-04 公开 ...

同类专利

咨询该专利

您还可以
推荐专利
{{ v.name }}
取 消 确 定