• 专利申请
    2021-09-07
  • 公布公告
    2022-07-12
  • 授权日期
    2022-07-12
  • 终止
    2032-07-09
一种带清洁功能的螺纹搓丝机构
一种带清洁功能的螺纹搓丝机构
* 专利信息仅供参考,不具有法律效力。 有效专利
CN202111041257.8 2021-09-07 B08B3/08 {{ classMap["B08B3/08"] }}
安徽工程大学 查看申请人名下所有专利
安徽省芜湖市镜湖区北京中路8号
专利分类项目
专利注册信息
初审公告期号 2021-09-07 初审公告日期 2022-07-12
注册公告期号 2022-07-12 注册公告日期 2022-07-12
专用权期限 2022-07-12 - 2032-07-09 专利类型 发明授权
代理组织机构 芜湖众汇知识产权代理事务所 查看该机构代理的所有专利
专利介绍
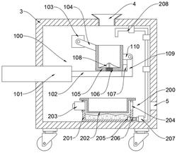
本发明公开了一种带清洁功能的螺纹搓丝机构,涉及螺纹加工领域,针对现有螺纹搓丝机构在工件加工之后的清洗、干燥步骤需过多的人工参与,且自然风干效率低,清洗液循环利用率低等问题,现提出如下方案,其包括清洗装置、过滤干燥装置及箱体,清洗装置包括清洗容器,过滤干燥装置包括固定安装于箱体底部内壁的滤液池,滤液池的左侧固定安装有鼓风机,本发明在清理完成之后通过对清洗容器的颠覆,将工件和清洗液直接倒入过滤盆中,将工件与清洗液分离,设置的鼓风机可以快速干燥工件,提高了干燥效率,经过过滤罩的过滤,让过滤液可以循环使用,充分利用了清洗液,整个过程工人无需接触工件,操作简单,提高了工作效率。
法律进度
  • 2024-05-17 专利权的转移 登记生效日: 2024.04.30 专利权人由安徽工程大学变更为合肥智慧龙机械设计有限公司 国家或地区由中国变 ...

  • 2022-07-12 授权 ...

  • 2021-12-21 实质审查的生效 IPC(主分类): B08B 3/08 专利申请号: 202111041257.8 申请日: 2021.09. ...

  • 2021-12-03 公开 ...

咨询该专利

您还可以
推荐专利
{{ v.name }}
取 消 确 定