• 专利申请
    2021-09-02
  • 公布公告
    2024-02-09
  • 授权日期
    2024-02-09
  • 终止
    2034-02-06
一种聚苯乙烯再生方法
一种聚苯乙烯再生方法
* 专利信息仅供参考,不具有法律效力。 有效专利
CN202111023370.3 2021-09-02 B29B17/00 {{ classMap["B29B17/00"] }}
宁波雷耀科技有限公司 查看申请人名下所有专利
浙江省宁波市余姚市陆埠镇五马工业区创新西路(变电所北面)(自主申报)
专利分类项目
专利注册信息
初审公告期号 2021-09-02 初审公告日期 2024-02-09
注册公告期号 2024-02-09 注册公告日期 2024-02-09
专用权期限 2024-02-09 - 2034-02-06 专利类型 发明授权
代理组织机构 北京华仁联合知识产权代理有限公司 查看该机构代理的所有专利
专利介绍
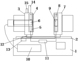
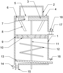
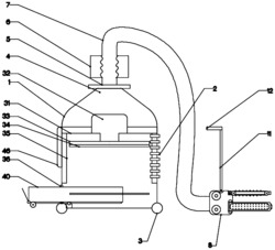
本发明涉及聚苯乙烯再生领域,公开了一种聚苯乙烯再生方法,该方法使用了一种聚苯乙烯再生设备,该聚苯乙烯再生设备包括工作箱体,所述工作箱体上设有第一进料口,所述第一进料口另一端连接粉碎部件,所述粉碎部件另一端连接第二进料口,所述工作箱体内底部设有两根对称的第一支撑架,所述工作箱体内部两侧对称设置有两组抖动部件,所述工作箱体所述第一支撑架另一端连接有热熔部件,所述所述工作箱体远离第一进料口一侧开设有第一出料口,所述热熔部件下方设有输送部件,所述热熔部件连接有气体收集转换部件,所述热熔部件为输送部件定点送料,能够针对废弃聚苯乙烯回收再利用,避免了在回收聚苯乙烯时产生有毒气体对人和环境产生危害。
法律进度
  • 2024-02-09 授权 ...

  • 2024-02-02 专利申请权的转移 登记生效日: 2024.01.16 申请人由钱晓峰变更为宁波雷耀科技有限公司 地址由201800 上海市嘉定区 ...

  • 2021-12-07 实质审查的生效 IPC(主分类): B29B 17/00 专利申请号: 202111023370.3 申请日: 2021.09 ...

  • 2021-11-19 公开 ...

同类专利
  • 一种废旧聚四氟乙烯和聚苯硫醚混纺滤袋的清洗回收方法

  • 一种高分子行星研磨盘的破坏处理设备

  • 热塑膜原料清洗装置

  • 一种废旧塑料刮洗设备的压平切条装置

  • 一种体育训练用破损乒乓球压缩回收设备

  • 一种软体塑料袋的垃圾回收设备

  • 用于回收废旧高分子薄壁管状材料的装置

  • 一种基于离心力作用震动取出碎石的轮胎清洗装置

  • 一种可再生环保型纸塑复合袋回收处理方法

  • 一种农用废弃薄膜预处理装置

  • 一种塑胶废料回收利用的熔融装置

  • 一种用于热熔胶膜边角料快速自动回收装置

咨询该专利

您还可以
推荐专利
{{ v.name }}
取 消 确 定