• 专利申请
    2021-08-03
  • 公布公告
    2021-09-28
  • 授权日期
    2023-09-15
  • 终止
    2031-09-26
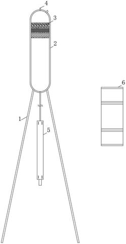
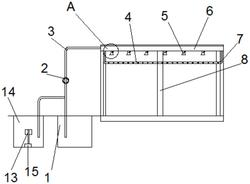
一种基于龙门移动式香椿大棚种植灌溉装置
一种基于龙门移动式香椿大棚种植灌溉装置
* 专利信息仅供参考,不具有法律效力。 有效专利
CN202110885974.2 2021-08-03 A01G9/24 {{ classMap["A01G9/24"] }}
阜阳师范大学 查看申请人名下所有专利
安徽省阜阳市颍州区清河西路100号
专利分类项目
专利注册信息
初审公告期号 2021-08-03 初审公告日期 2021-09-28
注册公告期号 2023-09-15 注册公告日期 2023-09-15
专用权期限 2021-09-28 - 2031-09-26 专利类型 发明公开
代理组织机构 合肥集知匠心知识产权代理事务所 查看该机构代理的所有专利
专利介绍
本发明涉及一本发明涉及大棚种植技术领域,具体的说是一种基于龙门移动式香椿大棚种植灌溉装置。一种基于龙门移动式香椿大棚种植灌溉装置,包括导轨、进给导水机构和调节灌溉机构,所述的进给导水机构通过滑动方式与导轨相连接,进给导水机构内设置有调节灌溉机构。本发明通过控制水的流速,从而使得淋浴型的灌溉方式具备了滴灌型灌溉方式的优点,解决了淋浴型设备耗水量较大且未种植香椿区域积水的问题,同时解决了滴灌型灌溉方式中管道铺设成本过高的问题;本发明通过对滴灌区域的调节,从而使得在不同种植规模的香椿大棚中同样适用。
法律进度
  • 2023-09-15 授权 ...

  • 2021-10-22 实质审查的生效 IPC(主分类): A01G 9/24 专利申请号: 202110885974.2 申请日: 2021.08. ...

  • 2021-09-28 公开 ...

同类专利

咨询该专利

您还可以
推荐专利
{{ v.name }}
取 消 确 定