• 专利申请
    2021-06-29
  • 公布公告
    2021-08-20
  • 授权日期
    2023-04-25
  • 终止
    2031-08-18
一种芍药育苗花盆
一种芍药育苗花盆
* 专利信息仅供参考,不具有法律效力。 有效专利
CN202110725775.5 2021-06-29 A01G9/029 {{ classMap["A01G9/029"] }}
阜阳师范大学 查看申请人名下所有专利
安徽省阜阳市清河西路100号
专利分类项目
专利注册信息
初审公告期号 2021-06-29 初审公告日期 2021-08-20
注册公告期号 2023-04-25 注册公告日期 2023-04-25
专用权期限 2021-08-20 - 2031-08-18 专利类型 发明公开
代理组织机构 西安铭泽知识产权代理事务所 查看该机构代理的所有专利
专利介绍
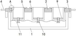
本发明公开了一种芍药育苗花盆,包括:外筒,其侧壁上设有多个第一通孔;基质内筒,设于外筒内部,且其底部开设有多个第二通孔、侧壁上均开设有多个第三通孔;旋转装置,用于驱动基质内筒旋转、以控制第一通孔与第三通孔的连通状态;集水腔,其顶部设有多个透水孔,透水孔与第二通孔上下位置对应;封堵装置,用于控制透水孔的流通、封堵状态。本发明的外筒、基质内筒和斗状盆沿构成双层花盆的基础结构;浇水时,使第一通孔与第三通孔不连通,水不会从第三通孔中任意流出,同时对透水孔进行封堵,水不会从第二通孔中任意流出;充分浇水结束后,打开透水孔,使余水流入集水腔内,从而实现了浇花后余水的有效收集,防止了环境污染。
法律进度
  • 2023-04-25 授权 ...

  • 2021-09-07 实质审查的生效 IPC(主分类): A01G 9/029 专利申请号: 202110725775.5 申请日: 2021.06 ...

  • 2021-08-20 公开 ...

同类专利

咨询该专利

您还可以
推荐专利
{{ v.name }}
取 消 确 定