• 专利申请
    2021-06-01
  • 公布公告
    2022-05-17
  • 授权日期
    2022-05-17
  • 终止
    2032-05-14
一种装配周转式制梁台座及其使用方法
一种装配周转式制梁台座及其使用方法
* 专利信息仅供参考,不具有法律效力。 有效专利
CN202110610508.3 2021-06-01 B28B17/00 {{ classMap["B28B17/00"] }}
台州学院 查看申请人名下所有专利
浙江省台州市市府大道1139号
专利分类项目
专利注册信息
初审公告期号 2021-06-01 初审公告日期 2022-05-17
注册公告期号 2022-05-17 注册公告日期 2022-05-17
专用权期限 2022-05-17 - 2032-05-14 专利类型 发明授权
代理组织机构 北京化育知识产权代理有限公司 查看该机构代理的所有专利
专利介绍
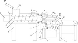
本发明涉及一种装配周转式制梁台座及其使用方法,第二台座的两侧分别与第一台座和第三台座相贴合,第一台座和第三台座相互远离的一侧均固定连接有固定板,两个固定板的顶部基座内转动连接有第二挡板,固定板的顶部转动连接有与第二挡板底部转动连接的电动推杆,第一台座、第二台座和第三台座内均设有具有相同结构的用于使第一台座、第二台座和第三台座移动的移动组件,第二台座和第三台座内均设有具有相同结构的用于使第一台座、第二台座和第三台座进行固定的固定组件,本发明结构紧凑,能够对第一台座、第二台座和第三台座快速拆卸与快速组装,从而提高预制梁制作的制作效率,使第一台座、第二台座和第三台座重复使用,降低施工成本。
法律进度
  • 2024-01-02 专利权的转移 登记生效日: 2023.12.18 专利权人由台州学院变更为合肥龙智机电科技有限公司 地址由318001 浙江 ...

  • 2022-05-17 授权 ...

  • 2021-09-17 实质审查的生效 IPC(主分类): B28B 17/00 专利申请号: 202110610508.3 申请日: 2021.06 ...

  • 2021-08-31 公开 ...

同类专利
  • 烧烤炭环托盘生产线模具翻转装置及工作方法

  • 复杂超二次曲面人工石及其制备方法

  • 一种耐久性好的混凝土加气砖制作装置及其制作方法

  • 一种预应力钢筒混凝土管加工用缠丝装置

  • 一种钧瓷生产装置的材料回收装置

咨询该专利

您还可以
推荐专利
{{ v.name }}
取 消 确 定