• 专利申请
    2021-05-08
  • 公布公告
    2021-07-27
  • 授权日期
    2022-10-21
  • 终止
    2031-07-25
用于卧室的智能家居光照控制装置
用于卧室的智能家居光照控制装置
* 专利信息仅供参考,不具有法律效力。 有效专利
CN202110501694.7 2021-05-08 F21S8/06 {{ classMap["F21S8/06"] }}
陕西理工大学 查看申请人名下所有专利
陕西省汉中市汉台区东一环路1号陕西理工大学物电学院
专利分类项目
专利注册信息
初审公告期号 2021-05-08 初审公告日期 2021-07-27
注册公告期号 2022-10-21 注册公告日期 2022-10-21
专用权期限 2021-07-27 - 2031-07-25 专利类型 发明公开
代理组织机构 北京保识知识产权代理事务所 查看该机构代理的所有专利
专利介绍
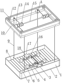
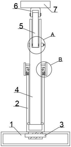
本发明涉及光照控制技术领域,且公开了用于卧室的智能家居光照控制装置,包括矩形框和固定框,矩形框的下端固定连接有透明灯罩,矩形框的内侧固定连接有壳体,且壳体的侧壁对称固定连接有两个套管,壳体的上端内壁固定连接有电机,电机的输出端固定连接有蜗杆,蜗杆的杆壁上啮合有两个第一蜗轮,两个第一蜗轮的中心处固定连接有支撑轴,支撑轴的两端均通过第一滚动轴承与壳体的内侧转动连接,矩形框内固定连接有隔板,隔板的侧壁对称连接有两个遮挡机构。该机用于卧室的智能家居光照控制装置,可以通过改变照明灯灯罩的透明度调节光照强度,灯泡电路中电压稳定,对灯泡损坏极小,并且也方便更换灯泡和维修光照设备。
法律进度
  • 2024-01-19 专利权的转移 登记生效日: 2024.01.03 专利权人由陕西理工大学变更为龙图腾网科技(合肥)股份有限公司 地址由723 ...

  • 2022-10-21 授权 ...

  • 2021-08-13 实质审查的生效 IPC(主分类): F21S 8/06 专利申请号: 202110501694.7 申请日: 2021.05. ...

  • 2021-07-27 公开 ...

同类专利

咨询该专利

您还可以
推荐专利
{{ v.name }}
取 消 确 定