• 专利申请
    2021-05-07
  • 公布公告
    2023-03-31
  • 授权日期
    2023-03-31
  • 终止
    2033-03-28
钨丝切割系统
钨丝切割系统
* 专利信息仅供参考,不具有法律效力。 有效专利
CN202110494530.6 2021-05-07 B21F11/00 {{ classMap["B21F11/00"] }}
攀枝花学院 查看申请人名下所有专利
四川省攀枝花市东区机场路10号
专利分类项目
专利注册信息
初审公告期号 2021-05-07 初审公告日期 2023-03-31
注册公告期号 2023-03-31 注册公告日期 2023-03-31
专用权期限 2023-03-31 - 2033-03-28 专利类型 发明授权
代理组织机构 成都希盛知识产权代理有限公司 查看该机构代理的所有专利
专利介绍
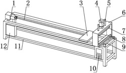
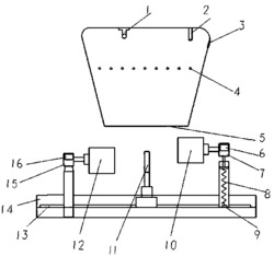
本发明公开了一种钨丝切割系统,能避免污染环境。传送装置、作业台和第二导电板沿水平方向依次间隔布置;励磁线圈沿轴向竖向设置;励磁线圈、永磁体、刀具和作业台由上至下依次布置;永磁体安装在刀具上,且与励磁线圈的下端相对应;刀具通过弹性件与安装座相连;第一导电板、励磁线圈、电源和第二导电板通过导线相连;励磁线圈得电后,励磁线圈下端的磁极与永磁体上端的磁极相同;刀具通过直线导向装置沿竖直方向做直线往复运动。与背景技术相比,能避免在钨丝的切割过程中产生钨蒸汽,有利于环境保护,同时具有成本较低的优势。
法律进度
  • 2024-06-21 专利权的转移 登记生效日: 2024.06.04 专利权人由攀枝花学院变更为合肥名龙电子科技有限公司 国家或地区由中国变更为 ...

  • 2023-03-31 授权 ...

  • 2021-08-20 实质审查的生效 IPC(主分类): B21F 11/00 专利申请号: 202110494530.6 申请日: 2021.05 ...

  • 2021-08-03 公开 ...

同类专利

咨询该专利

您还可以
推荐专利
{{ v.name }}
取 消 确 定