• 专利申请
    2021-04-28
  • 公布公告
    2022-06-10
  • 授权日期
    2022-06-10
  • 终止
    2032-06-07
一种包裹式碎石机
一种包裹式碎石机
* 专利信息仅供参考,不具有法律效力。 有效专利
CN202110465089.9 2021-04-28 B02C1/00 {{ classMap["B02C1/00"] }}
浙江工业职业技术学院 查看申请人名下所有专利
浙江省绍兴市镜湖新区曲屯路151号
专利分类项目
专利注册信息
初审公告期号 2021-04-28 初审公告日期 2022-06-10
注册公告期号 2022-06-10 注册公告日期 2022-06-10
专用权期限 2022-06-10 - 2032-06-07 专利类型 发明授权
代理组织机构 浙江永航联科专利代理有限公司 查看该机构代理的所有专利
专利介绍
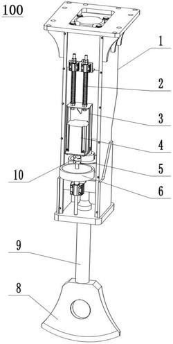
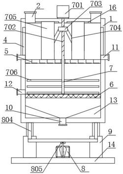
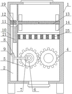
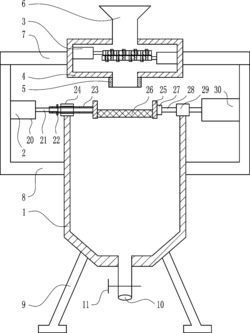
本发明提供了一种包裹式碎石机,属于土木工程设备技术领域。包括底座、入料斗和固定在底座上的碎石箱体,碎石箱体内横向设置有多个位于入料斗下方的碎石机构,碎石机构包括驱动板和分布在驱动板两侧的碎石组件,碎石组件包括设置在驱动板上的弹簧柱,弹簧柱的一端与驱动板相连,弹簧柱的另一端与碎石箱体固定相连,弹簧柱的两端分别固定设置有位于弹簧柱内的挤压块,碎石箱体的中部横向滑动滑动连接有一伸缩杆,伸缩杆的一端与一液压缸的推杆固定相连,液压缸的缸体固定在碎石箱体外壁面;由上至下,各碎石组件中的弹簧柱在自然状态下的临圈间隙逐渐减小。本发明具有能够控制石块飞溅等优点。
法律进度
  • 2024-09-24 专利权的转移 登记生效日: 2024.09.09 专利权人由浙江工业职业技术学院变更为合肥智慧龙机械设计有限公司 国家或地区 ...

  • 2022-06-10 授权 ...

  • 2021-08-17 实质审查的生效 IPC(主分类): B02C 1/00 专利申请号: 202110465089.9 申请日: 2021.04. ...

  • 2021-07-30 公开 ...

同类专利

咨询该专利

您还可以
推荐专利
{{ v.name }}
取 消 确 定