• 专利申请
    2021-04-27
  • 公布公告
    2023-07-25
  • 授权日期
    2023-07-25
  • 终止
    2033-07-22
能够同时利用波浪能和风能的发电装备
能够同时利用波浪能和风能的发电装备
* 专利信息仅供参考,不具有法律效力。 有效专利
CN202110458332.4 2021-04-27 F03B13/18 {{ classMap["F03B13/18"] }}
济南荣庆节能技术有限公司 查看申请人名下所有专利
山东省济南市历城区工业北路21号济钢创智谷(济钢装备部办公楼)6层A区007
专利分类项目
专利注册信息
初审公告期号 2021-04-27 初审公告日期 2023-07-25
注册公告期号 2023-07-25 注册公告日期 2023-07-25
专用权期限 2023-07-25 - 2033-07-22 专利类型 发明授权
代理组织机构 --
专利介绍
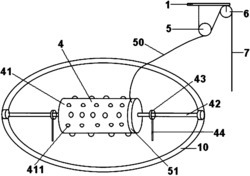
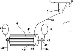
能够同时利用波浪能和风能的发电装备中有球形漂浮体和漂浮圈;球形漂浮体表面有线圈;漂浮圈由漂浮瓣组成,漂浮瓣朝向球形漂浮体线圈的一面有钕铁硼磁片;漂浮圈套装在线圈的外面,漂浮圈在风的作用下绕球形漂浮体旋转并随波浪摆动从而切割磁力线发电;漂浮瓣间带有风斗框和风斗的隔板朝向球形漂浮体球面一侧有小滚轮,用以减轻球形漂浮体与漂浮圈之间的摩擦;漂浮瓣和隔板采用子、母口方式对接,外围用腰带捆绑;该发电装备能够利用具有一定漂浮力的并防止扭转的锚链单独固定于海底,也能够通过具有一定漂浮力并能够防止扭转的锚链先固定在具有一定漂浮力的网格框上,利用网格框将多个发电装备固定于海底,实现大规模安装,其电能通过沿锚链铺设的电缆输送到岸上,经过整流变压后输入当地电网。
法律进度
  • 2023-07-25 授权 ...

  • 2021-11-16 实质审查的生效 IPC(主分类): F03B 13/18 专利申请号: 202110458332.4 申请日: 2021.04 ...

  • 2021-08-03 公开 ...

同类专利

咨询该专利

您还可以
推荐专利
{{ v.name }}
取 消 确 定