• 专利申请
    2021-04-25
  • 公布公告
    2022-08-02
  • 授权日期
    2022-08-02
  • 终止
    2032-07-30
一种利用尾气余热的船舶柴油机缸套水预热系统及其控制方法
一种利用尾气余热的船舶柴油机缸套水预热系统及其控制方法
* 专利信息仅供参考,不具有法律效力。 有效专利
CN202110447372.9 2021-04-25 F01N5/02 {{ classMap["F01N5/02"] }}
南通大学 查看申请人名下所有专利
江苏省南通市啬园路9号
专利分类项目
专利注册信息
初审公告期号 2021-04-25 初审公告日期 2022-08-02
注册公告期号 2022-08-02 注册公告日期 2022-08-02
专用权期限 2022-08-02 - 2032-07-30 专利类型 发明授权
代理组织机构 南京瑞弘专利商标事务所 查看该机构代理的所有专利
专利介绍
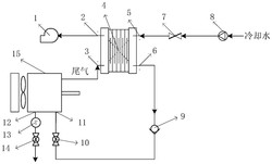
本发明公开了一种利用尾气余热的船舶柴油机缸套水预热系统及其控制方法,包括柴油机、翅片式换热器、离心式风机、电动蝶阀、止回阀、循环泵、第一电磁阀、第二电磁阀、温度传感器、触摸显示器和控制器。本发明能够减少柴油机缸套水预热过程中消耗的时间和燃油,改善柴油机冷启动时的热应力状况,增强柴油机的动力性能和工作平稳性。
法律进度
  • 2024-05-28 专利权的转移 登记生效日: 2024.05.11 专利权人由南通大学变更为合肥名龙电子科技有限公司 国家或地区由中国变更为中 ...

  • 2022-08-02 授权 ...

  • 2021-07-16 实质审查的生效 IPC(主分类): F01N 5/02 专利申请号: 202110447372.9 申请日: 2021.04. ...

  • 2021-06-29 公开 ...

同类专利
  • 一种利用相变材料储热功能提高热电发电效率的系统

  • 一种基于回路热管的汽车尾气余热回收装置

  • 一种可排气管余热回收的房车

咨询该专利

您还可以
推荐专利
{{ v.name }}
取 消 确 定