• 专利申请
    2021-04-09
  • 公布公告
    2023-03-14
  • 授权日期
    2023-03-14
  • 终止
    2033-03-11
一种用于液货船的液货机械能回收装置
一种用于液货船的液货机械能回收装置
* 专利信息仅供参考,不具有法律效力。 有效专利
CN202110383337.5 2021-04-09 F03B13/00 {{ classMap["F03B13/00"] }}
青岛科技大学 查看申请人名下所有专利
山东省青岛市崂山区松岭路99号
专利分类项目
专利注册信息
初审公告期号 2021-04-09 初审公告日期 2023-03-14
注册公告期号 2023-03-14 注册公告日期 2023-03-14
专用权期限 2023-03-14 - 2033-03-11 专利类型 发明授权
代理组织机构 青岛中天汇智知识产权代理有限公司 查看该机构代理的所有专利
专利介绍
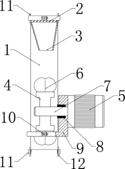
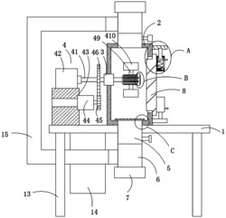
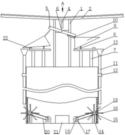
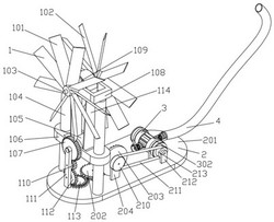
本发明提出了一种用于液货船的液货机械能回收装置,该装置包括:液货舱内舱、水轮发电机、换气孔和导流罩,其中液货舱内舱由竖直挡板、水平挡板和液货舱的部分舷侧列板以及舱顶焊接组成。本发明设于液货舱中,当船舶在风浪天航行时,利用水轮发电机将船体发生摇摆运动时的液货机械能回收起来,进而带动发电机将液货机械能转化为电能,为液货船提供了部分动力,降低了船舶航行时的油耗。本发明中的竖直挡板还起到一定的纵舱壁作用,减小液货舱中自由液面对船体稳性的影响。此外,由于液货船上液货舱数量多、尺寸大,所以整个船舶上可安装较多数量的本发明,当船舶在风浪环境下航行时,本发明回收的能量十分巨大,发电效果好。
法律进度
  • 2024-05-07 专利权的转移 登记生效日: 2024.04.22 专利权人由青岛科技大学变更为合肥智慧龙机械设计有限公司 国家或地区由中国变 ...

  • 2023-03-14 授权 ...

  • 2021-07-16 实质审查的生效 IPC(主分类): F03B 13/00 专利申请号: 202110383337.5 申请日: 2021.04 ...

  • 2021-06-29 公开 ...

同类专利

咨询该专利

您还可以
推荐专利
{{ v.name }}
取 消 确 定