• 专利申请
    2021-04-08
  • 公布公告
    2021-07-09
  • 授权日期
    2022-04-15
  • 终止
    2031-07-07
一种用于实木家具加工的废木料处理装置
一种用于实木家具加工的废木料处理装置
* 专利信息仅供参考,不具有法律效力。 有效专利
CN202110379193.6 2021-04-08 B27N3/18 {{ classMap["B27N3/18"] }}
宁波财经学院 查看申请人名下所有专利
浙江省宁波市海曙区学院路899号
专利分类项目
专利注册信息
初审公告期号 2021-04-08 初审公告日期 2021-07-09
注册公告期号 2022-04-15 注册公告日期 2022-04-15
专用权期限 2021-07-09 - 2031-07-07 专利类型 发明公开
代理组织机构 苏州拓云知识产权代理事务所 查看该机构代理的所有专利
专利介绍
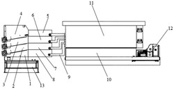
本发明公开了一种用于实木家具加工的废木料处理装置,其可实现自动对废料以及木屑进行处理,自动压合成板材,废木经过粉碎机构粉碎后由本发明的分类过滤机构进行分类过滤,有效保证木屑以及废木的利用效率,平铺机构用于将输送机构输送的各层木屑平铺处理,喷胶机构用于对平铺的各层木屑喷洒粘结胶液,有效保证胶液与各层木屑的混合性能,保证木屑的粘结固定性能,提高压制成型的效果,本发明压制成型的木屑板的中心处的木屑粒径最大,且最外侧的木屑粒径最小,有效保证压制成型的板材的强度,本发明的这种木屑粒径按照大小的方式进行布置,保证粒径小的木屑的粘结性,而木屑大的位于中心位置,提高板材中心的支撑能力,提高压合板的质量。
法律进度
  • 2024-07-02 专利权的转移 登记生效日: 2024.06.16 专利权人由宁波财经学院变更为合肥净龙环保科技有限公司 国家或地区由中国变更 ...

  • 2022-04-15 授权 ...

  • 2021-07-27 实质审查的生效 IPC(主分类): B27N 3/18 专利申请号: 202110379193.6 申请日: 2021.04. ...

  • 2021-07-09 公开 ...

咨询该专利

您还可以
推荐专利
{{ v.name }}
取 消 确 定