• 专利申请
    2021-04-08
  • 公布公告
    2021-07-30
  • 授权日期
    2023-01-03
  • 终止
    2031-07-28
一种电气高压电的工业多端口转接装置
一种电气高压电的工业多端口转接装置
* 专利信息仅供参考,不具有法律效力。 有效专利
CN202110377456.X 2021-04-08 H01R31/06 {{ classMap["H01R31/06"] }}
南昌工程学院 查看申请人名下所有专利
江西省南昌市天祥大道289号
专利分类项目
专利注册信息
初审公告期号 2021-04-08 初审公告日期 2021-07-30
注册公告期号 2023-01-03 注册公告日期 2023-01-03
专用权期限 2021-07-30 - 2031-07-28 专利类型 发明公开
代理组织机构 北京君泊知识产权代理有限公司 查看该机构代理的所有专利
专利介绍
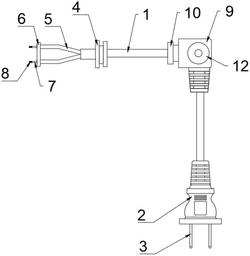
本发明公开了一种电气高压电的工业多端口转接装置,包括转接头主体,所述转接头主体内侧等距均匀固定连接有支撑竖板,所述支撑竖板中部贯穿固定连接有导电铜柱,所述导电铜柱两侧均均匀固定连接有锥形头,所述锥形头一端中部固定开设有锥形孔,所述转接头主体两侧对应锥形头端部位置处嵌入安装有固定螺纹管,本发明通过便捷性接线机构内部各组件的配合,同时采用翻转夹持的方式对线缆进行安装,有效的提高了线缆的定位速度,进一步优化了线缆的定位夹持过程,同时通过接线针板的针面设计,使接线针板与线缆之间的接触面积更大,进而有效的避免了线缆在安装完成后出现接触不良的现象,提高了安装的可靠性。
法律进度
  • 2024-07-19 专利权的转移 登记生效日: 2024.07.03 专利权人由南昌工程学院变更为合肥智慧龙机械设计有限公司 国家或地区由中国变 ...

  • 2023-01-03 授权 ...

  • 2021-08-17 实质审查的生效 IPC(主分类): H01R 31/06 专利申请号: 202110377456.X 申请日: 2021.04 ...

  • 2021-07-30 公开 ...

同类专利

咨询该专利

您还可以
推荐专利
{{ v.name }}
取 消 确 定