• 专利申请
    2021-03-30
  • 公布公告
    2022-05-17
  • 授权日期
    2022-05-17
  • 终止
    2032-05-14
一种超重力多曲盘柴油机尾气催化净化装置及其方法
一种超重力多曲盘柴油机尾气催化净化装置及其方法
* 专利信息仅供参考,不具有法律效力。 有效专利
CN202110341488.4 2021-03-30 F01N3/20 {{ classMap["F01N3/20"] }}
南通大学 查看申请人名下所有专利
江苏省南通市崇川区啬园路9号
专利分类项目
专利注册信息
初审公告期号 2021-03-30 初审公告日期 2022-05-17
注册公告期号 2022-05-17 注册公告日期 2022-05-17
专用权期限 2022-05-17 - 2032-05-14 专利类型 发明授权
代理组织机构 南京经纬专利商标代理有限公司 查看该机构代理的所有专利
专利介绍
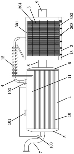
本发明提供了一种超重力多曲盘柴油机尾气催化净化装置及其方法,属于尾气净化技术领域。解决了柴油机尾气中有害气体净化的问题。其技术方案为:包括壳体、贯穿壳体的中空状主轴,沿主轴的轴线方向依次等间距设置若干个曲盘组,每个曲盘组上各设置一个催化环,在主轴气体出口端部依次设有催化填料网和除雾器,主轴的驱动端还设有动力传动装置。本发明的有益效果为:本发明结合了超重力和选择性催化还原反应,净化效果好;中空状主轴,可供液供气流动;多级曲盘组成曲盘组,曲盘组中各级曲盘相互配合,雾化效果好、气液混合充分;设置多个催化环与催化填料网,催化反应充分;催化环与催化填料为固定的,气体通过率高。
法律进度
  • 2024-06-04 专利权的转移 登记生效日: 2024.05.17 专利权人由南通大学变更为合肥名龙电子科技有限公司 国家或地区由中国变更为中 ...

  • 2022-05-17 授权 ...

  • 2021-07-09 实质审查的生效 IPC(主分类): F01N 3/20 专利申请号: 202110341488.4 申请日: 2021.03. ...

  • 2021-06-22 公开 ...

同类专利

咨询该专利

您还可以
推荐专利
{{ v.name }}
取 消 确 定