• 专利申请
    2021-01-27
  • 公布公告
    2021-06-22
  • 授权日期
    2023-05-12
  • 终止
    2031-06-20
一种羔羊自动剃毛设备
一种羔羊自动剃毛设备
* 专利信息仅供参考,不具有法律效力。 有效专利
CN202110113918.7 2021-01-27 A01K14/00 {{ classMap["A01K14/00"] }}
上海汇圣林业有限公司 查看申请人名下所有专利
上海市闵行区平阳路258号1层
专利分类项目
专利注册信息
初审公告期号 2021-01-27 初审公告日期 2021-06-22
注册公告期号 2023-05-12 注册公告日期 2023-05-12
专用权期限 2021-06-22 - 2031-06-20 专利类型 发明公开
代理组织机构 北京恒和顿知识产权代理有限公司 查看该机构代理的所有专利
专利介绍
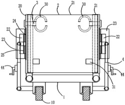
本发明公开了一种羔羊自动剃毛设备,其结构包括对称设置的支撑架,所述支撑架一侧设置有通过弹性绳固定羔羊头部且易于释放的羊头固定装置,所述支撑架内设置有主导轨,所述主导轨一侧固设有主齿条,所述主导轨上滑动的设置有将羊毛清洗及吹干的羊身清洗装置,所述羊身清洗装置的一侧设置有修剪羊毛及防止卡住的羊身修剪装置,所述支撑架的另一侧设置有剔除羊尾部毛的尾部修剪装置,采用了羊头固定装置的设计,通过羊头引导块的设计,使羊头能够轻松进入固定外壳固定,提高设备易用性;采用了羊身清洗装置的设计,通过刷洗喷嘴和吹风孔的设计,使设备能够对羊毛进行清洗,防止修剪时将刀卡住。
法律进度
  • 2023-05-12 授权 ...

  • 2021-07-09 实质审查的生效 IPC(主分类): A01K 14/00 专利申请号: 202110113918.7 申请日: 2021.01 ...

  • 2021-06-22 公开 ...

同类专利

咨询该专利

您还可以
推荐专利
{{ v.name }}
取 消 确 定