• 专利申请
    2021-01-27
  • 公布公告
    2021-09-14
  • 授权日期
    2021-09-14
  • 终止
    2031-09-12
一种自复位抗侧剪力墙与楼板的连接装置及其使用方法
一种自复位抗侧剪力墙与楼板的连接装置及其使用方法
* 专利信息仅供参考,不具有法律效力。 有效专利
CN202110110109.0 2021-01-27 E04B1/61 {{ classMap["E04B1/61"] }}
江苏海洋大学 查看申请人名下所有专利
江苏省连云港市海州区苍梧路59号
专利分类项目
专利注册信息
初审公告期号 2021-01-27 初审公告日期 2021-09-14
注册公告期号 2021-09-14 注册公告日期 2021-09-14
专用权期限 2021-09-14 - 2031-09-12 专利类型 发明授权
代理组织机构 北京中仟知识产权代理事务所 查看该机构代理的所有专利
专利介绍
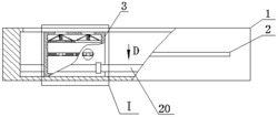
本发明公开了一种自复位抗侧剪力墙与楼板的连接装置及其使用方法,包括自复位抗侧剪力墙、楼板、摩擦装置和碳纤维增强层压低阻尼橡胶轴承,所述自复位抗侧剪力墙通过所述碳纤维增强层压低阻尼橡胶轴承与所述楼板连接。有益效果:能够降低楼板加速度,并保持楼板的稳定性,通过摩擦装置中间的耗能段消耗地震能量,碳纤维增强层压低阻尼橡胶轴承固定在自复位抗侧剪力墙的两侧与楼板间隙处,此轴承在大剪切变形下具有几乎线性的弹性响应具有显著的压缩刚度,用于保持自复位抗侧剪力墙的平面外稳定性,并为变形连接提供可预测和可靠的后弹性刚度,利用碳纤维增强橡胶层防止自复位抗侧剪力墙与楼板的碰撞损坏。
法律进度
  • 2021-09-14 授权 ...

  • 2021-06-25 实质审查的生效 IPC(主分类): E04B 1/61 专利申请号: 202110110109.0 申请日: 2021.01. ...

  • 2021-06-08 公开 ...

同类专利

咨询该专利

您还可以
推荐专利
{{ v.name }}
取 消 确 定