• 专利申请
    2021-01-08
  • 公布公告
    2022-08-02
  • 授权日期
    2022-08-02
  • 终止
    2032-07-30
一种双孢蘑菇智能采收切根一体化系统及跟随收集方法
一种双孢蘑菇智能采收切根一体化系统及跟随收集方法
* 专利信息仅供参考,不具有法律效力。 有效专利
CN202110024303.7 2021-01-08 A01G18/70 {{ classMap["A01G18/70"] }}
上海第二工业大学 查看申请人名下所有专利
上海市浦东新区金海路2360号
专利分类项目
专利注册信息
初审公告期号 2021-01-08 初审公告日期 2022-08-02
注册公告期号 2022-08-02 注册公告日期 2022-08-02
专用权期限 2022-08-02 - 2032-07-30 专利类型 发明授权
代理组织机构 上海正旦专利代理有限公司 查看该机构代理的所有专利
专利介绍
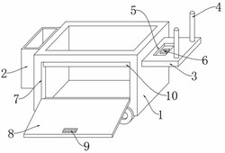
本发明公开了一种双孢蘑菇智能采收切根一体化系统及跟随收集方法。其包括双孢蘑菇多臂采摘机器人移动平台、视觉检测装置、多臂采摘装置、自动切根装置、跟随收集装置和传输装置。本发明的多臂采摘装置与自动切根装置安装在双孢蘑菇多臂采摘机器人移动平台上,在自动切根装置的下方安装输送带,实现双孢蘑菇的采摘、切根以及切根后双孢蘑菇的输送。跟随收集装置通过上端驱动前进,下端导向,能适应不同层培养架高度的使用,实时完成双孢蘑菇收集。本发明的系统结构简单新颖,适用于不同高度的多层培养架,能实现对每一层培养架的采收。本发明同样适用于对褐菇等其他类似床栽工厂化生产的食用菌的智能采收切根。
法律进度
  • 2022-08-02 授权 ...

  • 2021-04-30 实质审查的生效 IPC(主分类): A01G 18/70 专利申请号: 202110024303.7 申请日: 2021.01 ...

  • 2021-04-13 公开 ...

同类专利

咨询该专利

您还可以
推荐专利
{{ v.name }}
取 消 确 定