• 专利申请
    2020-12-30
  • 公布公告
    2021-10-22
  • 授权日期
    2021-10-22
  • 终止
    2031-10-20
一种吸尘地刷用水洗装置
一种吸尘地刷用水洗装置
* 专利信息仅供参考,不具有法律效力。 有效专利
CN202023311051.6 2020-12-30 B08B3/04 {{ classMap["B08B3/04"] }}
苏州督达苏精密模具科技有限公司 查看申请人名下所有专利
江苏省苏州市相城区黄桥街道胡湾村旺盛路(红枫园南)
专利分类项目
专利注册信息
初审公告期号 2020-12-30 初审公告日期 2021-10-22
注册公告期号 2021-10-22 注册公告日期 2021-10-22
专用权期限 2021-10-22 - 2031-10-20 专利类型 实用新型
代理组织机构 --
专利介绍
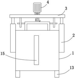
本实用新型公开了一种吸尘地刷用水洗装置,包括清理箱,清理箱的背面活动穿插连接有限位杆,限位杆的一端开设有第一凹槽,第一凹槽的内腔中活动穿插连接有安装块,安装块的外壁上开设有第二凹槽,第二凹槽的内腔中对称活动穿插连接有凸块,两个第二凹槽之间开设有与凸块相配合的第三凹槽,两个凸块之间等距间隔设有多个弹簧,凸块的外壁上呈环形阵列设有四个滑块,第三凹槽内腔的内壁上开设有四个与滑块相配合的滑槽。本实用新型利用限位杆、第一凹槽、清理箱、安装块、第二凹槽、第三凹槽、凸块、滑块和滑槽的配合,提高了残渣分离和脏水迅速排出的灵活性,避免造成管道的堵塞,进而提高了地刷和管道的使用寿命。
法律进度
  • 2021-10-22 授权 ...

同类专利

咨询该专利

您还可以
推荐专利
{{ v.name }}
取 消 确 定