• 专利申请
    2020-12-29
  • 公布公告
    2021-08-20
  • 授权日期
    2021-08-20
  • 终止
    2031-08-18
一种暖通管道连接装置
一种暖通管道连接装置
* 专利信息仅供参考,不具有法律效力。 有效专利
CN202023275652.6 2020-12-29 F16L21/08 {{ classMap["F16L21/08"] }}
苏州江晨贝五金制品有限公司 查看申请人名下所有专利
江苏省苏州市太仓市沙溪镇印溪南路1299号
专利分类项目
专利注册信息
初审公告期号 2020-12-29 初审公告日期 2021-08-20
注册公告期号 2021-08-20 注册公告日期 2021-08-20
专用权期限 2021-08-20 - 2031-08-18 专利类型 实用新型
代理组织机构 苏州佳博知识产权代理事务所 查看该机构代理的所有专利
专利介绍
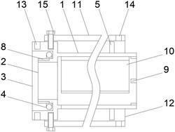
本实用新型公开了一种暖通管道连接装置,其包括暖通管道本体,所述暖通管道本体的表面设置有便捷固定组件,所述便捷固定组件包括安装环、安装套、阻尼转轴、连接杆、限位架和限位卡板,其中,所述暖通管道本体的一侧设置有安装环,所述安装环对应暖通管道本体设置有安装套,所述安装套的上端设置有阻尼转轴,所述阻尼转轴的一侧设置有连接杆,所述连接杆远离阻尼转轴的一侧设置有限位卡板,所述暖通管道本体的上端对应限位卡板设置有限位架;本实用新型通过设置便捷固定组件,提高安装的便利性,提高管道固定的牢固性,保证工作质量,提高安装效果,通过设置异径连接组件,提高设备安装的稳定性。
法律进度
  • 2021-08-20 授权 ...

同类专利

咨询该专利

您还可以
推荐专利
{{ v.name }}
取 消 确 定