• 专利申请
    2020-12-28
  • 公布公告
    2021-11-26
  • 授权日期
    2021-11-26
  • 终止
    2031-11-24
一种便携式面膜盒
一种便携式面膜盒
* 专利信息仅供参考,不具有法律效力。 有效专利
CN202023225005.4 2020-12-28 A45C11/00 {{ classMap["A45C11/00"] }}
贵定廖氏古方科技有限公司 查看申请人名下所有专利
贵州省黔南布依族苗族自治州贵定县宝山街道锦江华府C5栋1号
专利分类项目
专利注册信息
初审公告期号 2020-12-28 初审公告日期 2021-11-26
注册公告期号 2021-11-26 注册公告日期 2021-11-26
专用权期限 2021-11-26 - 2031-11-24 专利类型 实用新型
代理组织机构 福州君诚知识产权代理有限公司 查看该机构代理的所有专利
专利介绍
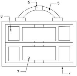
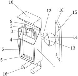
本实用新型公开了一种便携式面膜盒,包括盒体,所述盒体的顶部一侧活动设置有盒盖,所述盒体的顶部设置有多个放置圆槽,且放置圆槽的一侧设置有拨动槽,所述盒体的底部一端设置有第一收纳槽,所述盒体的底部另一端设置有第二收纳槽,所述第一收纳槽内设置有浸泡盒,所述浸泡盒的两侧各设置有一个支撑凸起,在本实用新型中的盒体底部分别设计了第一收纳槽和第二收纳槽,可分别放置浸泡盒和溶液瓶,并且端部开口处均通过可伸缩的挡片进行限位,确保浸泡盒和溶液瓶能够放置牢固,不会脱落,同时也方便拿取使用,使得面膜盒的功能更加的多样化,便于携带,并且携带不占用过多的空间,使用方便。
法律进度
  • 2021-11-26 授权 ...

同类专利

咨询该专利

您还可以
推荐专利
{{ v.name }}
取 消 确 定