• 专利申请
    2020-12-28
  • 公布公告
    2021-11-26
  • 授权日期
    2021-11-26
  • 终止
    2031-11-24
一种面膜液与面膜布的分装盒
一种面膜液与面膜布的分装盒
* 专利信息仅供参考,不具有法律效力。 有效专利
CN202023224987.5 2020-12-28 B65D81/32 {{ classMap["B65D81/32"] }}
贵定廖氏古方科技有限公司 查看申请人名下所有专利
贵州省黔南布依族苗族自治州贵定县宝山街道锦江华府C5栋1号
专利分类项目
专利注册信息
初审公告期号 2020-12-28 初审公告日期 2021-11-26
注册公告期号 2021-11-26 注册公告日期 2021-11-26
专用权期限 2021-11-26 - 2031-11-24 专利类型 实用新型
代理组织机构 福州君诚知识产权代理有限公司 查看该机构代理的所有专利
专利介绍
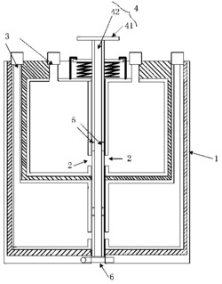
本实用新型公开了一种面膜液与面膜布的分装盒,包括盒体,所述盒体的顶部连接装设有盒盖,所述盒体的内部折叠装设有内盒体,所述内盒体的底部连接装设有转向板,所述内盒体的内部折叠装设有隔板,所述隔板的顶部开设有限位槽,所述内盒体的一侧开设有矩形开口,所述隔板与矩形开口限位固定;该包装盒在使用时,在盒体的内部折叠装设有内盒体,当该包装盒在运输的过程中,若盒体受到挤压,内盒体会支撑盒体,使包装盒不易因外力的影响而变形,提高了该包装盒的容错率,在该包装盒的内部装设有限位架,当该包装盒使用时,可以通过限位架,将放在限位架两端的面膜液与面膜布同时取出,便于面膜的取用,提高了该包装盒的实用性。
法律进度
  • 2021-11-26 授权 ...

同类专利

咨询该专利

您还可以
推荐专利
{{ v.name }}
取 消 确 定