• 专利申请
    2020-12-23
  • 公布公告
    2021-08-24
  • 授权日期
    2021-08-24
  • 终止
    2031-08-22
一种封箱机机头
一种封箱机机头
* 专利信息仅供参考,不具有法律效力。 有效专利
CN202023130477.1 2020-12-23 B65B51/06 {{ classMap["B65B51/06"] }}
青岛畅隆智造科技有限公司 查看申请人名下所有专利
山东省青岛市即墨区通济街道办事处闫家岭村
专利分类项目
专利注册信息
初审公告期号 2020-12-23 初审公告日期 2021-08-24
注册公告期号 2021-08-24 注册公告日期 2021-08-24
专用权期限 2021-08-24 - 2031-08-22 专利类型 实用新型
代理组织机构 青岛致嘉知识产权代理事务所 查看该机构代理的所有专利
专利介绍
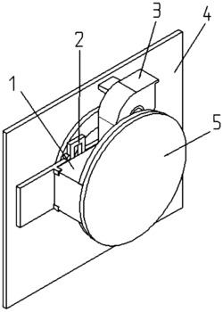
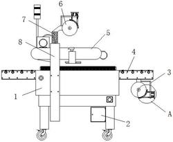
本实用新型公开了一种封箱机机头,包括安装板,安装板上设置有胶带安装装置、切带装置和压带装置,切带装置包括连杆一、连杆二、刀架和切断刀,连杆一的上端转动安装在安装板上,连杆一的下端转动安装在刀架的左侧,刀架左侧的端部固定安装切断刀,刀架的右侧通过连杆二连接压带装置的左侧,压带装置的右侧转动安装在安装板上;本实用新型的结构简单,胶带安装稳定,利用气弹簧作为连杆一,不易产生位移和断裂,使机头故障率减少,设备更耐用。
法律进度
  • 2021-08-24 授权 ...

同类专利

咨询该专利

您还可以
推荐专利
{{ v.name }}
取 消 确 定