• 专利申请
    2020-12-18
  • 公布公告
    2021-10-15
  • 授权日期
    2021-10-15
  • 终止
    2031-10-13
淋浴器展示架
淋浴器展示架
* 专利信息仅供参考,不具有法律效力。 有效专利
CN202023064215.X 2020-12-18 A47F7/00 {{ classMap["A47F7/00"] }}
上海天威展示展览有限公司 查看申请人名下所有专利
上海市宝山区振园路66号
专利分类项目
专利注册信息
初审公告期号 2020-12-18 初审公告日期 2021-10-15
注册公告期号 2021-10-15 注册公告日期 2021-10-15
专用权期限 2021-10-15 - 2031-10-13 专利类型 实用新型
代理组织机构 --
专利介绍
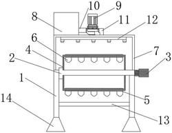
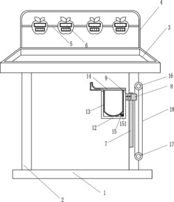
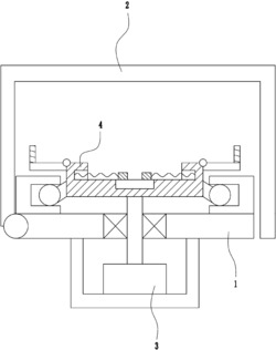
淋浴器展示架,包括:外框、开关转换器、灯带系统、LED控制器、变压器、红外开关系统和继电器,外框的正面与灯带系统和开关转换器固定连接,外框的背面与LED控制器、变压器、红外开关系统和继电器连接,开关转换器和灯带系统与继电器连接,变压器与灯带系统、LED控制器、红外开关系统和继电器连接。其中,开关转换器包括:龙头开关、阀体、分水器、连接孔和触发连接线。本实用新型与传统技术相比,通过淋浴器的控制与灯光控制进行结合,实现淋浴器的灯光展示,从而降低水资源的浪费和循环水泵的成本以及电力资源的浪费。(ESM)同样的发明创造已同日申请发明专利
法律进度
  • 2021-10-15 授权 ...

同类专利

咨询该专利

您还可以
推荐专利
{{ v.name }}
取 消 确 定