• 专利申请
    2020-12-10
  • 公布公告
    2021-08-13
  • 授权日期
    2021-08-13
  • 终止
    2031-08-11
一种货车配件精确切割装置
一种货车配件精确切割装置
* 专利信息仅供参考,不具有法律效力。 有效专利
CN202022968356.8 2020-12-10 B23D19/00 {{ classMap["B23D19/00"] }}
江苏一帆汽车配件有限公司 查看申请人名下所有专利
江苏省盐城市大丰区西团镇重大项目产业园静心路6号
专利分类项目
专利注册信息
初审公告期号 2020-12-10 初审公告日期 2021-08-13
注册公告期号 2021-08-13 注册公告日期 2021-08-13
专用权期限 2021-08-13 - 2031-08-11 专利类型 实用新型
代理组织机构 北京中政联科专利代理事务所 查看该机构代理的所有专利
专利介绍
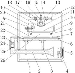
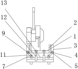
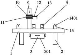
本实用新型涉及货车配件技术领域,具体为一种货车配件精确切割装置,包括底座,所述底座顶端通过阻尼轴承连接有架体,所述底座顶面横向开凿有凹陷状的槽体,所述底座中部开凿有切割槽,所述槽体左侧侧开凿有凹陷状的卡槽,所述卡槽内部卡合有第一卡板,所述第一卡板顶部开凿有半圆状的圆槽。本实用新型通过将第一卡板对应卡槽相卡合,将圆管对应第一卡板上圆槽相卡合,其第一卡板可根据实际不同尺寸的圆管进行更换,板状原材料可直接放置于底座上通过螺杆带动夹持板对底座进行固定,便于根据实际需要的原材料进行确切割装置,适应性更高,较为实用,适合广泛推广与使用。
法律进度
  • 2021-08-13 授权 ...

同类专利

咨询该专利

您还可以
推荐专利
{{ v.name }}
取 消 确 定