• 专利申请
    2020-12-03
  • 公布公告
    2021-08-03
  • 授权日期
    2021-08-03
  • 终止
    2031-08-01
一种箱包抗压测试用测试机
一种箱包抗压测试用测试机
* 专利信息仅供参考,不具有法律效力。 有效专利
CN202022877218.9 2020-12-03 G01N3/14 {{ classMap["G01N3/14"] }}
苏州凯灵箱包有限公司 查看申请人名下所有专利
江苏省苏州市吴江区桃源镇富乡大道437号
专利分类项目
专利注册信息
初审公告期号 2020-12-03 初审公告日期 2021-08-03
注册公告期号 2021-08-03 注册公告日期 2021-08-03
专用权期限 2021-08-03 - 2031-08-01 专利类型 实用新型
代理组织机构 南京灿烂知识产权代理有限公司 查看该机构代理的所有专利
专利介绍
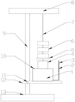
本实用新型提供一种箱包抗压测试用测试机,包括支撑板、输送带、测试通道、重力块以及控制箱,支撑板上侧中间设置有测试通道,支撑板上端面设置有输送带,测试通道前端面中间设置有控制箱,控制箱下侧设置有第一气缸,测试通道后端面下侧设置有第二气缸,测试通道内部下侧前后对称设置有第一夹板和第二夹板,测试通道内上壁安装有驱动电机,驱动电机前侧设置有收放卷辊,收放卷辊下侧设置有重力块,控制箱内部从左到右依次设置有智能处理芯片、控制电路板以及数据硬盘,与现有技术相比,解决了现有的抗压测试无法适应不同尺寸的箱包的问题,本实用新型具有如下的有益效果:结构简单,使用方便,测试效果好。
法律进度
  • 2021-08-03 授权 ...

同类专利
  • 一种基于光栅衍射的杨氏模量微小伸长量测量方法

  • 一种基于排水法测量金属丝杨氏模量的装置

咨询该专利

您还可以
推荐专利
{{ v.name }}
取 消 确 定