• 专利申请
    2020-11-18
  • 公布公告
    2021-09-10
  • 授权日期
    2021-09-10
  • 终止
    2031-09-08
一种钢筋混凝土梁防火涂料耐火性能检测仪
一种钢筋混凝土梁防火涂料耐火性能检测仪
* 专利信息仅供参考,不具有法律效力。 有效专利
CN202022677479.6 2020-11-18 G01N31/12 {{ classMap["G01N31/12"] }}
湖南工业大学 查看申请人名下所有专利
湖南省株洲市泰山西路88号
专利分类项目
专利注册信息
初审公告期号 2020-11-18 初审公告日期 2021-09-10
注册公告期号 2021-09-10 注册公告日期 2021-09-10
专用权期限 2021-09-10 - 2031-09-08 专利类型 实用新型
代理组织机构 北京金智普华知识产权代理有限公司 查看该机构代理的所有专利
专利介绍
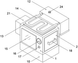
本实用新型公开了一种钢筋混凝土梁防火涂料耐火性能检测仪,包括测试箱体,所述测试箱体外壁两侧安装有液压缸,所述液压缸上方固定连接有箱体密封盖,且箱体密封盖与测试箱体之间卡口连接,所述箱体密封盖上方固定连接有固定架,所述固定架下方转动连接有转动架,且转动架底端贯穿箱体密封盖并延伸至测试箱体内腔,本实用新型涉及防火涂料检测技术领域。该钢筋混凝土梁防火涂料耐火性能检测仪,可以使得钢筋混凝土梁表面在灼烧时更加均匀,提升钢筋混凝土梁防火涂料检测结果的精准度,并且方便拿取,同时还可以对检测过程中的异味气体进行过滤净化,提升钢筋混凝土梁防火涂料耐火性能检测仪的功能性。
法律进度
  • 2021-09-10 授权 ...

同类专利
  • 一种可动态收集金属蒸气的管式炉试验装置

  • 一种汽车隔音棉燃烧测试装置

  • 一种口罩阻燃试验机用头模摆动装置

  • 一种隧道运动体火蔓延模拟实验系统及其实验方法

咨询该专利

您还可以
推荐专利
{{ v.name }}
取 消 确 定