• 专利申请
    2020-11-17
  • 公布公告
    2021-07-23
  • 授权日期
    2021-07-23
  • 终止
    2031-07-21
一种合成洗涤剂的膜法生产设备
一种合成洗涤剂的膜法生产设备
* 专利信息仅供参考,不具有法律效力。 有效专利
CN202022654759.5 2020-11-17 B01F7/18 {{ classMap["B01F7/18"] }}
合肥创想能源环境科技有限公司 查看申请人名下所有专利
安徽省合肥市高新区天通路14号软件园4-506室
专利分类项目
专利注册信息
初审公告期号 2020-11-17 初审公告日期 2021-07-23
注册公告期号 2021-07-23 注册公告日期 2021-07-23
专用权期限 2021-07-23 - 2031-07-21 专利类型 实用新型
代理组织机构 合肥方舟知识产权代理事务所 查看该机构代理的所有专利
专利介绍
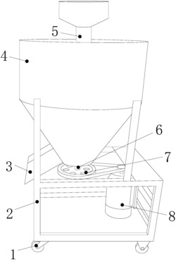
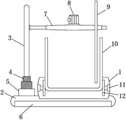
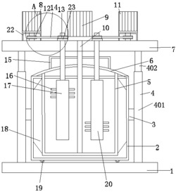
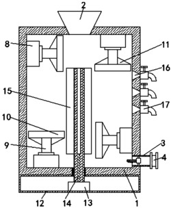
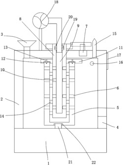
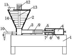
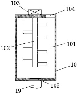
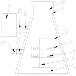
本实用新型公开了一种合成洗涤剂的膜法生产设备,所述的I电机固设于混合罩顶部右侧,所述的I转轴固设于I电机底部,所述的搅拌架固设于I转轴底部,所述的抽吸泵固设于混合罩右侧中端,所述的滤膜罩固设于混合罩顶部左侧,所述的II电机固设于滤膜罩左侧中端,所述的II转轴固设于II电机右侧,所述的滤膜板固设于II转轴外壁,首先由混合机构,可对化学原料进行搅拌,方便洗涤剂的生产,其次因采用滤膜机构,亦可对洗涤剂中未溶解的大颗粒物质进行阻挡过滤,避免跟随洗涤剂排出,确保洗涤剂的质量,最后配合电机旋转切换机构,能便于未溶解大颗粒物质重新回流至搅拌混合区域,不仅避免了滤膜机构堵塞,此外也实现再加工,提高了原料的利用率。
法律进度
  • 2021-07-23 授权 ...

同类专利

咨询该专利

您还可以
推荐专利
{{ v.name }}
取 消 确 定