• 专利申请
    2020-11-10
  • 公布公告
    2021-07-09
  • 授权日期
    2021-07-09
  • 终止
    2031-07-07
一种安全水杯
一种安全水杯
* 专利信息仅供参考,不具有法律效力。 有效专利
CN202022590396.3 2020-11-10 A47G19/22 {{ classMap["A47G19/22"] }}
南京科技职业学院 查看申请人名下所有专利
江苏省南京市江北新区欣乐路188号
专利分类项目
专利注册信息
初审公告期号 2020-11-10 初审公告日期 2021-07-09
注册公告期号 2021-07-09 注册公告日期 2021-07-09
专用权期限 2021-07-09 - 2031-07-07 专利类型 实用新型
代理组织机构 苏州市中南伟业知识产权代理事务所 查看该机构代理的所有专利
专利介绍
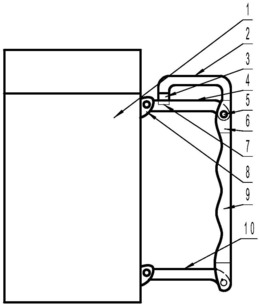
本实用新型涉及一种安全水杯,包括:杯盖和杯体,杯体的开口端设置有螺纹部,杯盖与杯体通过螺纹部螺纹连接,杯体外壁设置有周向布置的环形凸台,环形凸台设置在螺纹部下侧,杯盖包括盖体和锁定结构,锁定结构套设于盖体外,锁定结构包括至少两个限位凸台,锁定结构通过限位凸台相对于环形凸台滑动至不同位置,从而获得杯盖与杯体不同的锁定状态,当环形凸台将限位凸台卡阻于环形凸台下方时,阻止杯盖轴向移动,杯盖处于关闭位置;当限位凸台滑过环形凸台且于环形凸台上方时,杯盖能够沿轴向移动,杯盖处于打开位置。当杯盖处于关闭位置时,杯盖不能与杯盖分离,实现对水杯的保护,增加了本实用新型的实用性和安全性。
法律进度
  • 2021-07-09 授权 ...

同类专利

咨询该专利

您还可以
推荐专利
{{ v.name }}
取 消 确 定