• 专利申请
    2020-11-05
  • 公布公告
    2021-04-20
  • 授权日期
    2021-04-20
  • 终止
    2031-04-18
一种用于石油设备的限位开关
一种用于石油设备的限位开关
* 专利信息仅供参考,不具有法律效力。 有效专利
CN202022537980.2 2020-11-05 H01H3/16 {{ classMap["H01H3/16"] }}
涿州优阀自动化设备有限公司 查看申请人名下所有专利
河北省保定市涿州市开发区朝阳东路A10-01号
专利分类项目
专利注册信息
初审公告期号 2020-11-05 初审公告日期 2021-04-20
注册公告期号 2021-04-20 注册公告日期 2021-04-20
专用权期限 2021-04-20 - 2031-04-18 专利类型 实用新型
代理组织机构 北京科亿知识产权代理事务所 查看该机构代理的所有专利
专利介绍
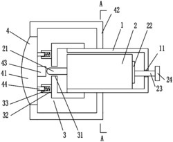
本实用新型公开了一种用于石油设备的限位开关,包括限位开关本体,外壳机构的一端设置有电缆连接口,基座机构设置在外壳机构的下端,旋转件的一端与外壳机构连接,另一端设置有固定螺丝,摆杆一端与旋转件铰连接,另一端与操作滚轮活动连接,内部操作时,只需用钥匙就可以解锁,改变了传统的螺丝密封的方式,既可以使得工作人员方便快捷的打开外盖进行内部操作,又同时防范了非工作人员打开外盖,安装时,先将基座机构通过固定螺孔固定在石油设备上,然后直接将拼接块对准拼接凹槽进行推动即可完成安装,进行维护时,也不用拆除基座机构,极大地提高了工作人员的拆装效率。
法律进度
  • 2021-04-20 授权 ...

同类专利

咨询该专利

您还可以
推荐专利
{{ v.name }}
取 消 确 定