• 专利申请
    2020-10-27
  • 公布公告
    2021-07-06
  • 授权日期
    2021-07-06
  • 终止
    2031-07-04
一种麻花钻头生产用钻头坯磨削油涂覆工装
一种麻花钻头生产用钻头坯磨削油涂覆工装
* 专利信息仅供参考,不具有法律效力。 有效专利
CN202022418919.6 2020-10-27 B05C1/02 {{ classMap["B05C1/02"] }}
镇江市龙润工具有限公司 查看申请人名下所有专利
江苏省镇江市新区姚桥镇儒里工业园区内
专利分类项目
专利注册信息
初审公告期号 2020-10-27 初审公告日期 2021-07-06
注册公告期号 2021-07-06 注册公告日期 2021-07-06
专用权期限 2021-07-06 - 2031-07-04 专利类型 实用新型
代理组织机构 南京创略知识产权代理事务所 查看该机构代理的所有专利
专利介绍
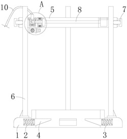
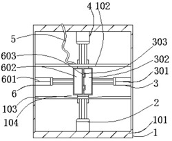
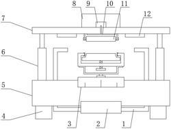
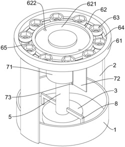
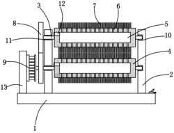
本实用新型公开了一种麻花钻头生产用钻头坯磨削油涂覆工装,包括固定座,固定座的顶部固定安装有收集壳体,收集壳体的顶部开设有若干个开孔,固定座的背面两端固定安装有导向杆,两根导向杆的外侧穿插连接有两组固定块,两组固定块的一侧固定安装有支撑座,支撑座的一侧通过滑动机构连接有涂覆机构。本方案通过储油箱底端的输油管与涂抹刷进行输油,通过第二电动伸缩杆将夹块的顶部便于对麻花钻头坯磨削油涂覆进行涂抹,通过手动调整两组滑动块上的同步电机的转动位置,将麻花钻头坯放置到转筒上,降低劳动时间,提升生产效率。
法律进度
  • 2021-07-06 授权 ...

同类专利

咨询该专利

您还可以
推荐专利
{{ v.name }}
取 消 确 定